Operation CHARM: Car repair manuals for everyone.
Manuals through 2025 now available!

Our trusted friends have launched a new website named LEMON, which has newer manuals. It also contains all the CHARM manuals.

LEMON is the spiritual successor to CHARM, I recommend you try it!

Link: lemon-manuals.la or lemon-manuals.org.ua

(Some people have issue connecting. LEMON is investigating. For now, use Firefox or change your DNS server)

Or, hide this message: temporarily or permanently

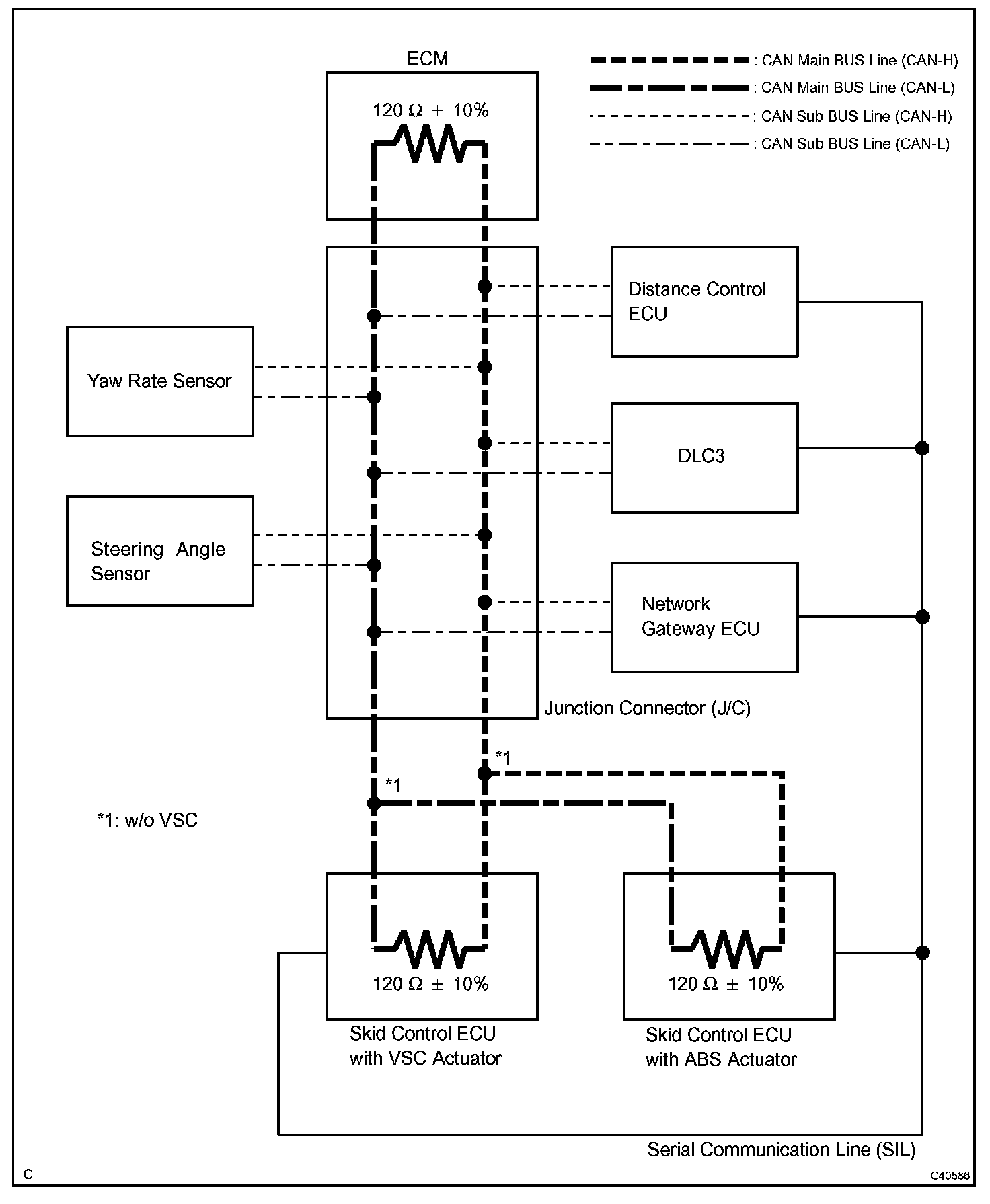
CAN Communication System

System Diagram:




SYSTEM DIAGRAM

HINT:
- The skid control ECU with actuator detects and stores steering sensor and yaw rate sensor DTCs and performs DTC communication by receiving information from the steering sensor and yaw rate sensor.
- The ECM uses the CAN communication system to perform DTC communication instead of the conventional communication line (SIL).

SYSTEM DESCRIPTION

1. BRIEF DESCRIPTION
a. The CAN (Controller Area Network) is a serial data communication system for real time application.
It is a vehicle multiplex communication system which has a high communication speed (500 kbps) and the ability to detect malfunctions.

b. By pairing the CANH and CANL bus lines, the CAN performs communication based on differential voltage.
c. Many ECUs (sensors) installed on the vehicle operate by sharing information and communicating with each other.
d. The CAN has two resistors of 120 Ohms which are necessary to communicate with the main bus line.

2. DEFINITION OF TERMS
a. Main bus line
The main bus line is a wire harness between the two terminus circuits on the bus (communication line). This is the main bus in the CAN communication system.

b. Sub bus line
The sub bus line is a wire harness which diverges from the main bus line to a ECU or sensor.

c. Terminus circuit
The terminus circuit is a circuit which is placed to convert communication current of the CAN communication into bus voltage. It consists of a resistor and condenser. Two terminus circuits are necessary on a bus.

3. ECUS OR SENSORS WHICH COMMUNICATE THROUGH CAN COMMUNICATION SYSTEM
a. Skid Control ECU with ABS Actuator
b. Skid Control ECU with VSC Actuator
c. Yaw Rate Sensor
d. Steering Angle Sensor
e. Distance Control ECU
f. ECM
g. Network Gateway ECU

4. DIAGNOSTIC CODE FOR CAN COMMUNICATION SYSTEM
DTCs for the CAN communication system are as follows:
U0073, U0100, U0101, U0122, U0123, U0124, U0126, U0132, U1101

NOTE: U0001, U0235, and U1102 are displayed on the hand-held tester "Communication Malfunction DTC" screen, but they are not DTCs in the CAN communication system. Refer to troubleshooting of each system.

5. REMARK FOR TROUBLESHOOTING
a. Trouble in the CAN bus (communication line) can be checked from the DLC3 (except when there is a wire break other than in the sub bus line of the DLC3).

NOTE: Do not insert the tester directly into the DLC3 connector. Be sure to use a service wire.

b. DTCs regarding the CAN communication system can be checked using the hand-held tester.
c. The CAN communication system cannot detect trouble in the sub bus line of the DLC3 even though the DLC3 is also connected to the CAN communication system.

6. HOW TO DISTINGUISH THE JUNCTION CONNECTOR (J/C)
In the CAN communication system, the shape of all connectors connected to the J/C is the same. The connectors connected to the J/C can be distinguished by the colors of the bus lines and the connecting side of the connector.

HINT: See "TERMINALS OF ECU" for bus line color or the type of connecting surface.