Operation CHARM: Car repair manuals for everyone.
Manuals through 2025 now available!

Our trusted friends have launched a new website named LEMON, which has newer manuals. It also contains all the CHARM manuals.

LEMON is the spiritual successor to CHARM, I recommend you try it!

Link: lemon-manuals.la or lemon-manuals.org.ua

(Some people have issue connecting. LEMON is investigating. For now, use Firefox or change your DNS server)

Or, hide this message: temporarily or permanently

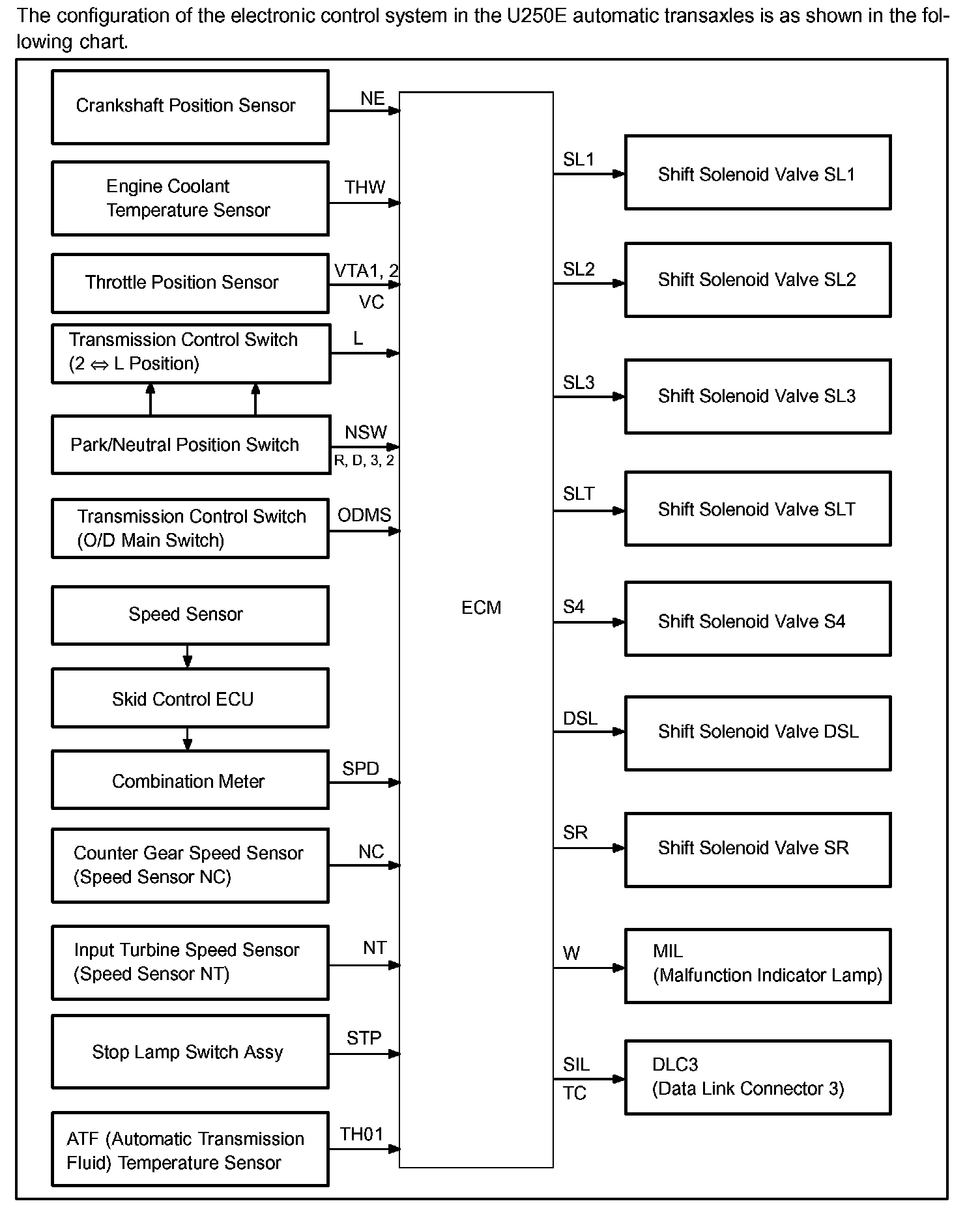
System Description

System Diagram:






SYSTEM DESCRIPTION

The ECT (Electronic controlled automatic transmission/transaxle) is an automatic transmission/transaxle that electronically controls shift timing using the ECM. The ECM detects electrical signals that indicate engine and driving conditions, controls the shift point, and selects the appropriate shift pattern based on driver habits and road conditions. As a result, fuel efficiency and power transmission/transaxle performance are improved.

Shift shock has been reduced by controlling the engine and transmission/transaxle simultaneously. In addition, the ECT has the following features:
- Diagnostic function.
- Fail-safe function when a malfunction occurs.