Operation CHARM: Car repair manuals for everyone.
Manuals through 2025 now available!

Our trusted friends have launched a new website named LEMON, which has newer manuals. It also contains all the CHARM manuals.

LEMON is the spiritual successor to CHARM, I recommend you try it!

Link: lemon-manuals.la or lemon-manuals.org.ua

(Some people have issue connecting. LEMON is investigating. For now, use Firefox or change your DNS server)

Or, hide this message: temporarily or permanently

Component Inspection

INSPECTION

1. INSPECT MASS AIR FLOW METER




a. Check the output voltage.
1. Apply battery voltage across terminals 1 (+B) and 2 (E2G).
2. Connect the positive (+) tester probe to terminal VG, and negative (-) tester probe to terminal E2G.
3. Blow air into the Mass Air Flow (MAF) meter, and check that the voltage fluctuates.




b. Measure the resistance between terminals 4 (THA) and 5 (E2).

2. INSPECT CAMSHAFT TIMING OIL CONTROL VALVE ASSY
a. Measure the resistance between the terminals.

Standard: 6.9 to 7.9 ohm at 20°C (68°F)

If the result is not as specified, replace the OCV assy.




b. Connect the battery's positive (+) lead to terminal 1 and negative (-) lead to terminal 2, and check the movement of the valve.

NOTE: Confirm that the valve moves freely and does not become stuck in any position.

If necessary, replace the OCV assy.

HINT: If the valve cannot return properly because of foreign matter, a small pressure leak in the advanced direction may occur and a DTC will be output.

3. INSPECT ACCELERATOR PEDAL ROD ASSY
a. Check the accelerator pedal position sensor.

4. INSPECT THROTTLE BODY ASSY




a. Check the throttle position sensor.
b. Check the throttle control motor.
1. Measure the resistance between terminals 2 (M+) and 1 (M-).

Resistance: 0.3 to 100 ohm at 20°C (68°F).

If the result is not as specified, replace the throttle body assy.

5. INSPECT ENGINE COOLANT TEMPERATURE SENSOR







a. Measure the resistance between each terminal.

NOTE: If checking the ECT sensor in the water, keep the terminals dry. After the check, wipe the sensor dry.

6. INSPECT KNOCK SENSOR




a. Measure the resistance between the terminals.
Resistance: 120 to 280 kohm at 20°C (68°F)

If the result is not as specified, replace the sensor.

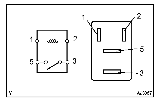
7. INSPECT RELAY (Marking: EFI, A/F)




a. Remove the EFI relay from the engine room J/B.
b. Remove the A/F relay from the engine room R/B No. 2.




c. Measure the resistance of the relay.

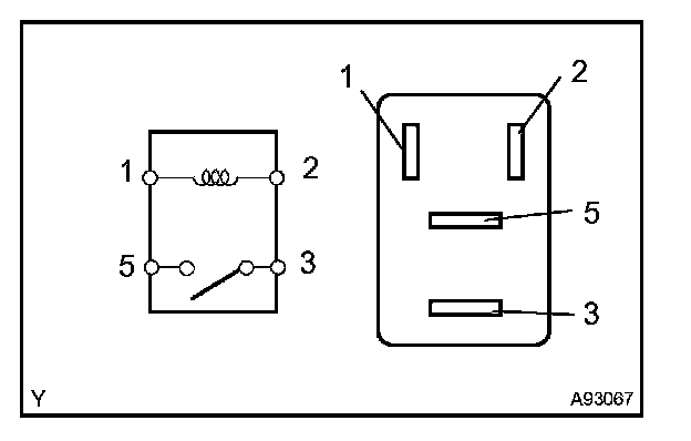
8. INSPECT CIRCUIT OPENING RELAY




a. Remove the circuit opening relay from the R/B sub-assy.




b. Measure the resistance of the relay.