Operation CHARM: Car repair manuals for everyone.
Manuals through 2025 now available!

Our trusted friends have launched a new website named LEMON, which has newer manuals. It also contains all the CHARM manuals.

LEMON is the spiritual successor to CHARM, I recommend you try it!

Link: lemon-manuals.la or lemon-manuals.org.ua

(Some people have issue connecting. LEMON is investigating. For now, use Firefox or change your DNS server)

Or, hide this message: temporarily or permanently

Power Window Switch: Testing and Inspection







INSPECT POWER WINDOW MASTER SWITCH CIRCUIT
Check the voltage and continuity of each terminal of the wire harness side connector.
If the circuit is not as specified, inspect the circuits connected to other parts.








INSPECT POWER WINDOW SWITCH CIRCUIT
Check the voltage and continuity of each terminal of the wire harness side connector.
If the circuit is not as specified, inspect the circuits connected to other parts.




INSPECT JAM PROTECTION LIMIT SWITCH OPERATION
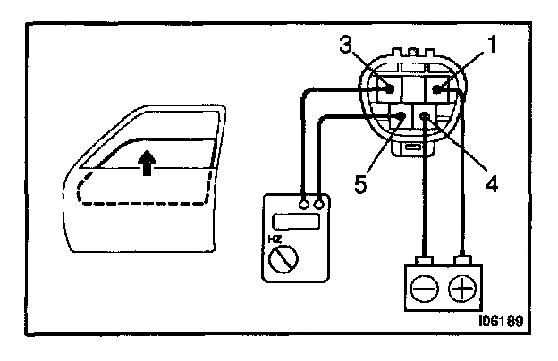
a. Connect the positive (+) lead from the ohmmeter to terminal 2 and the negative (-) lead to terminal 5.
b. Connect the positive (+) lead from the battery to terminal 1 and the negative (-) lead to terminal 4.
c. Check that the continuity exists when the window goes up.




d. Check that the no continuity exists when the window is in the fully closed position.
If operation is not as specified, replace the motor.

NOTE: If connecting the wire harness wrongly, the sensor might be damaged so caution is necessary.




INSPECT JAM PROTECTION PULSE SWITCH OPERATION
a. Connect the positive (+) lead from the TOYOTA electrical tester to terminal 3 and the negative (-) lead to terminal 5.
b. Connect the positive (+) lead from the battery to terminal 1 and the negative (-) lead to terminal 4.
c. Check that pulse is generated during the motor running.




d. Reverse the polarity and check that pulse is generated. If operation is not as specified, replace the motor.

NOTE: If connecting the wire harness wrongly, the sensor might be damaged so caution is necessary.

INSPECT JAM PROTECTION FUNCTION

NOTE: Never, ever be caught any part of your body when checking.

HINT: In case of performing resetting of the limit switch, do checking after repeating up and down of the glass with automatic operation.

a. Confirmation of AUTO up operation:
Confirm that the window will be fully close with AUTO up operation.
b. Checking of the operation of the jam protection function:
1. Move up the window with AUTO up operation and check that the window will go down when it touches the handle of the hammer stetted.
2. Confirm that the window will then stop going down about 200 m.

HINT: In case of removing the glass, glass guide, regulator and etc. be sure to perform checking of the jam protection function. If the jam protection is not function properly, adjust power window motor reset switch and pulse switch.







INSPECT POWER QUARTER WINDOW SWITCH CONTINUITY
If continuity is not as specified, replace the switch.