Operation CHARM: Car repair manuals for everyone.
Manuals through 2025 now available!

Our trusted friends have launched a new website named LEMON, which has newer manuals. It also contains all the CHARM manuals.

LEMON is the spiritual successor to CHARM, I recommend you try it!

Link: lemon-manuals.la or lemon-manuals.org.ua

(Some people have issue connecting. LEMON is investigating. For now, use Firefox or change your DNS server)

Or, hide this message: temporarily or permanently

Air Conditioning Unit Assy

Air Conditioning Unit Assy Part 1:




Air Conditioning Unit Assy Part 2:






OVERHAUL

1. DISCHARGE REFRIGERANT FROM REFRIGERATION SYSTEM

SST 07110-58060 (07117-58080, 07117-58090, 07117-78050, 07117-88060, 07117-88070, 07117-88080)

2. DISCONNECT SUCTION HOSE SUB-ASSEMBLY




a. Install SST to piping clamp.

SST 09870-00015

HINT: Confirm the direction of the piping clamp claw and SST using the illustration showing on the caution label.




b. Push down SST and release the clamp lock.

NOTE: Be careful not to deform the tube, when pushing SST.

c. Pull SST slightly and push the release lever, then remove the piping clamp with SST.
d. Remove the piping clamp from SST.




e. Disconnect the cooler refrigerant suction hose No.1.

NOTE:
- Do not use tools like screwdriver to remove the tube.
- Cap the open fittings immediately to keep moisture or dirt out of the system.

3. DISCONNECT AIR CONDITIONING TUBE ASSEMBLY

SST 09870-00015

HINT: Disconnect in the same way as the cooler refrigerant suction hose No.1.




4. DISCONNECT HEATER INLET WATER HOSE
a. Using pliers, grip the claws of clip and slide the clip and disconnect the heater inlet water hose.

5. DISCONNECT HEATER OUTLET WATER HOSE

HINT: Disconnect in the same way as the heater inlet water hose.

6. REMOVE INSTRUMENT PANEL SUB-ASSEMBLY LOWER

HINT: Refer to the instructions for removal of the instrument panel sub-assembly lower.




7. REMOVE INSTRUMENT PANEL LWR PAD INSERT LH
a. Remove the 3 screws and instrument panel LWR pad insert LH.

8. REMOVE INSTRUMENT PANEL LOWER MOUNT BRACKET NO.1 (M/T TRANSAXLE)




9. REMOVE INSTRUMENT PANEL BRACE SUB-ASSEMBLY NO.1
a. Remove 2 clips and take up the floor carpet.

HINT: Take up the floor carpet as small as the instrument panel brace sub-assembly No.1 can be removed.




b. Remove the 3 clamps and floor shift parking lock cable assembly.




c. Remove the screw.
d. Remove the bolt, nut and instrument panel brace sub-assembly No.1.

10. REMOVE INSTRUMENT PANEL BRACE SUB-ASSEMBLY NO.2




a. Remove 2 clips and take up the floor carpet.

HINT: Take up the floor carpet as small as the instrument panel brace sub-assembly No.2 can be removed.




b. Remove the bolt, nut and instrument panel brace sub-assembly No.2.




11. REMOVE AIR DUCT NO.1
a. Release the 2 fitting claws, remove the air duct No.1.




12. REMOVE AIR DUCT NO.2
a. Remove the screw.
b. Release the 2 fitting claws, remove the air duct No.2.




13. REMOVE AIR DUCT REAR NO.3 (W/ COLD AREA SPECIFICATION)
a. Release the 6 fitting claws, remove the air duct rear No.3.




14. REMOVE AIR DUCT REAR NO.4 (W/ COLD AREA SPECIFICATION)
a. Release the 6 fitting claws, remove the air duct rear No.4.




15. REMOVE HEATER TO REGISTER DUCT NO.1
a. Remove the 2 clips and heater to register duct No.1.




16. REMOVE DEFROSTER NOZZLE ASSEMBLY
a. Release the 3 fitting claws, remove the defroster nozzle assembly.




17. DISCONNECT DEFROSTER DAMPER CONTROL CABLE SUB-ASSEMBLY
a. Disconnect the outer cable from the clamp.
b. Disconnect the inner cable and defroster damper control cable sub-assembly.

NOTE:
- Be careful not to bend the cable wire.
- If the cable wire bends, the air conditioning control assembly operationality becomes worse.




18. DISCONNECT AIRMIX DAMPER CONTROL CABLE SUB-ASSEMBLY
a. Disconnect the outer cable from the clamp.
b. Disconnect the inner cable and airmix damper control cable sub-assembly.

NOTE:
- Be careful not to bend the cable wire.
- If the cable wire bends, the air conditioning control assembly operationality becomes worse.




19. DISCONNECT ECM
a. Remove the 2 bolts and disconnect the ECM.

NOTE:
- Do not apply excessive force to the connector of the ECM.
- Do not give any impact to the ECM.




20. REMOVE INSTRUMENT PANEL TO COWL BRACE CENTER
a. Remove the 2 nuts and instrument panel to cowl brace center.

21. DISCONNECT STEERING COLUMN ASSEMBLY




a. Disconnect the connector, remove the 2 clamps.




b. Remove the 3 bolts, disconnect the steering column assembly.

22. REMOVE INSTRUMENT PANEL REINFORCEMENT




a. Remove the 8 screws and 2 earth wires from the instrument panel reinforcement.




b. Disconnect the 5 clamps and wire harness.




c. Remove the 6 bolts and instrument panel reinforcement.

23. REMOVE AIR CONDITIONING UNIT ASSEMBLY




a. Release the 2 fitting claws, disconnect the connector holder.

HINT: Release the claw while pressing the lock part in the arrow direction.




b. Disconnect the connector from the blower w/fan motor sub-assembly.




c. Disconnect the connector from the damper servo sub-assembly.




d. Disconnect the connector from the cooler thermistor No.1.




e. Remove the 4 nuts, bolt and air conditioning unit assembly.




24. REMOVE AIR FILTER CASE
a. Release the 2 fitting claws, remove the air filter case.




25. REMOVE CLEAN AIR FILTER
a. Remove the air filter from the air conditioning unit assembly.

HINT: Removing only the glove compartment door assembly makes it possible and install the air filter.




26. REMOVE DAMPER SERVO SUB-ASSEMBLY
a. Remove the 2 screws and damper servo sub-assembly.

HINT: Removing only instrument panel sub-assembly upper and heater to register duct No. 1 makes it possible and install the damper servo sub-assembly.




27. REMOVE BLOWER W/FAN MOTOR SUB-ASSEMBLY
a. Remove the 3 screws and blower w/fan motor sub-assembly.

HINT: Removing only the ECM makes it possible and install the blower w/fan motor sub-assembly.




28. REMOVE BLOWER RESISTOR
a. Disconnect the connector.
b. Remove the 2 screws and blower resistor.

HINT: Removing only the ECM makes it possible and install the blower resistor.




29. REMOVE HEATER PIPING COVER
a. Release the 3 fitting claws, remove the heater piping cover.




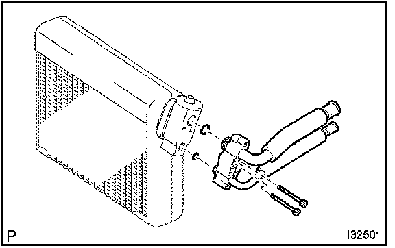
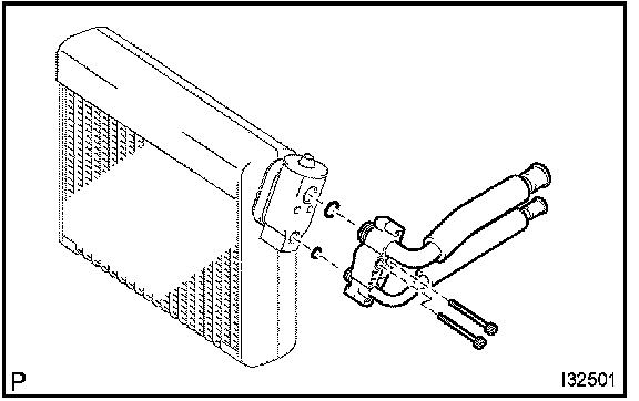
30. REMOVE HEATER RADIATOR UNIT SUB-ASSEMBLY
a. Release the 3 fitting claws, remove the heater piping clamp and heater radiator unit sub-assembly




31. REMOVE COOLER EXPANSION VALVE
a. Remove the clamp.




b. Release the fitting claw, remove the 2 screws and heater case.




c. Release the fitting claw, remove the 5 screws and heater case.




d. Remove the cooler thermistor No.1 from the cooler evaporator sub-assembly No.1.

32. REMOVE AIR CONDITIONING TUBE ASSEMBLY




a. Remove the cooler evaporator assembly from the heater case.
b. Remove the packing.




c. Using a hexagon wrench 5.0 mm (0.20 in.), remove the 2 hexagon bolts and air conditioning tube assembly.
d. Remove the 2 O-rings from the air conditioning tube assembly.




33. REMOVE COOLER EXPANSION VALVE
a. Remove the cooler expansion valve from the cooler evaporator sub-assembly No.1.
b. Remove the 2 O-rings from the cooler evaporator sub-assembly No.1.

HINT: Removing only instrument panel sub-assembly upper, heater to register duct No.1 and heater case makes it possible and install the cooler expansion valve.

34. REMOVE COOLER EVAPORATOR SUB-ASSEMBLY NO.1
35. REMOVE COOLER UNIT DRAIN HOSE NO.1




36. INSTALL COOLER EXPANSION VALVE
a. Lubricate 2 new O-rings with compressor oil and install them to the cooler expansion valve.

Compressor oil: ND-OIL 8 or equivalent

b. Install the cooler expansion valve from cooler evaporator sub-assembly No.1.

37. INSTALL AIR CONDITIONING TUBE ASSEMBLY




a. Lubricate 2 new O-rings with compressor oil and install them to the air conditioning tube assembly.

Compressor oil: ND-OIL 8 or equivalent

b. Using a hexagon wrench 5.0 mm (0.20 in.), install the air conditioning tube assembly with the 2 hexagon bolts.

Torque: 3.5 N.m (35 kgf.cm, 30 in.lbf)




c. Install the packing.

HINT: Securely attach so that the gap in the packing will not be mode.

d. Install the cooler evaporator assembly to the heater case.

38. REMOVE BLOWER RESISTOR




a. Install the cooler thermistor No.1 at the shown position on the illustration.




b. Install the heater case with the claw and 5 screws.




c. Install the heater case with the claw and 2 screws.




39. INSTALL CLEAN AIR FILTER
a. Install the air filter to the air conditioning unit assembly.

40. INSTALL AIR CONDITIONING UNIT ASSEMBLY




a. Install the air conditioning unit assembly with the 4 nuts and bolt.

Torque: 9.8 N.m (100 kgf.cm, 87 in.lbf)

NOTE: Tighten the nuts and bolt in order shown in the illustration to install the air conditioner unit assembly.




b. Connect the connector to the cooler thermistor No.1.




c. Connect the connector to the damper servo sub-assembly.




d. Connect the connector to the blower w/fan motor sub-assembly.




e. Engage the 2 claws, and connect the connector holder.




41. INSTALL ECM
a. Install the ECM with the 2 bolts.

Torque: 3.0 N.m (30 kgf.cm, 26 in.lbf)

NOTE:
- Do not apply excessive force to the connector of the ECM.
- Do not give any impact to the ECM.

42. INSTALL INSTRUMENT PANEL SUB-ASSEMBLY LOWER
43. INSTALL AIR CONDITIONING CONTROL ASSEMBLY




44. INSTALL DEFROSTER DAMPER CONTROL CABLE SUB-ASSEMBLY
a. Set the arm in FACE position.
b. Install the inner cable end to the control lever with the arm in FACE position.
c. Install the outer cable to the cable clamp while slightly pressing it in the direction of the arrow.

NOTE:
- Be careful not to bend the cable wire.
- If the cable wire bends, the air conditioning control assembly operationality becomes worse.

HINT: Operating the mode control lever, check that it properly stops at both ends of FACE and DEF and no recoil is identified.




45. INSTALL AIRMIX DAMPER CONTROL CABLE SUB-ASSEMBLY
a. Set the arm in MAX. COOL position.
b. Install the inner cable end to the control lever with the arm in MAX. COOL position.
c. Install the outer cable to the cable clamp while slightly pressing it in the direction of the arrow.

NOTE:
- Be careful not to bend the cable wire.
- If the cable wire bends, the air conditioning control assembly operationality becomes worse.

HINT: Operating the temperature control lever, check that it properly stops at both ends of MAX. COOL and MAX. HOT and no recoil is identified.

46. REMOVE AIR CONDITIONING CONTROL ASSEMBLY
47. INSTALL INSTRUMENT PANEL SUB-ASSEMBLY UPPER




48. INSTALL HEATER OUTLET WATER HOSE
a. Using pliers, grip the claws of clip and slide the clip and connect the heater outlet water hose.

NOTE:
- The clip is installing so that the projection of the clip may go into the 90 ° to a direction position.
- Marking of hose is installed upward by vehicle.

49. INSTALL HEATER INLET WATER HOSE

HINT: Connect in the same way as the heater outlet water hose.




50. INSTALL SUCTION HOSE SUB-ASSEMBLY
a. Lubricate a new O-ring with compressor oil and install them to the hose.

Compressor oil: ND-OIL 8 or equivalent

b. Install the cooler refrigerant suction hose No.1 and piping clamp.

HINT: After connection, check the fitting for claw of the piping clamp.

51. INSTALL AIR CONDITIONING TUBE ASSEMBLY
a. Lubricate a new O-ring with compressor oil and install them to the pipe.

Compressor oil: ND-OIL 8 or equivalent

b. Install the cooler refrigerant liquid pipe A and piping clamp.

HINT: After connection, check the fitting for claw of the piping clamp.

52. ADD COOLANT

53. CHECK FOR ENGINE COOLANT LEAKS

54. CHARGE REFRIGERANT

SST 07110-58060 (07117-58060, 07117-58070, 07117-58080, 07117-58090, 07117-78050, 07117-88060, 07117-88070, 07117-88080), 07117-48130, 07117-48140

Specified amount: 490 ± 30 g (17.28 ± 1.06 oz.)

55. WARM UP ENGINE
56. INSPECT LEAKAGE OF REFRIGERANT