Operation CHARM: Car repair manuals for everyone.
Manuals through 2025 now available!

Our trusted friends have launched a new website named LEMON, which has newer manuals. It also contains all the CHARM manuals.

LEMON is the spiritual successor to CHARM, I recommend you try it!

Link: lemon-manuals.la or lemon-manuals.org.ua

(Some people have issue connecting. LEMON is investigating. For now, use Firefox or change your DNS server)

Or, hide this message: temporarily or permanently

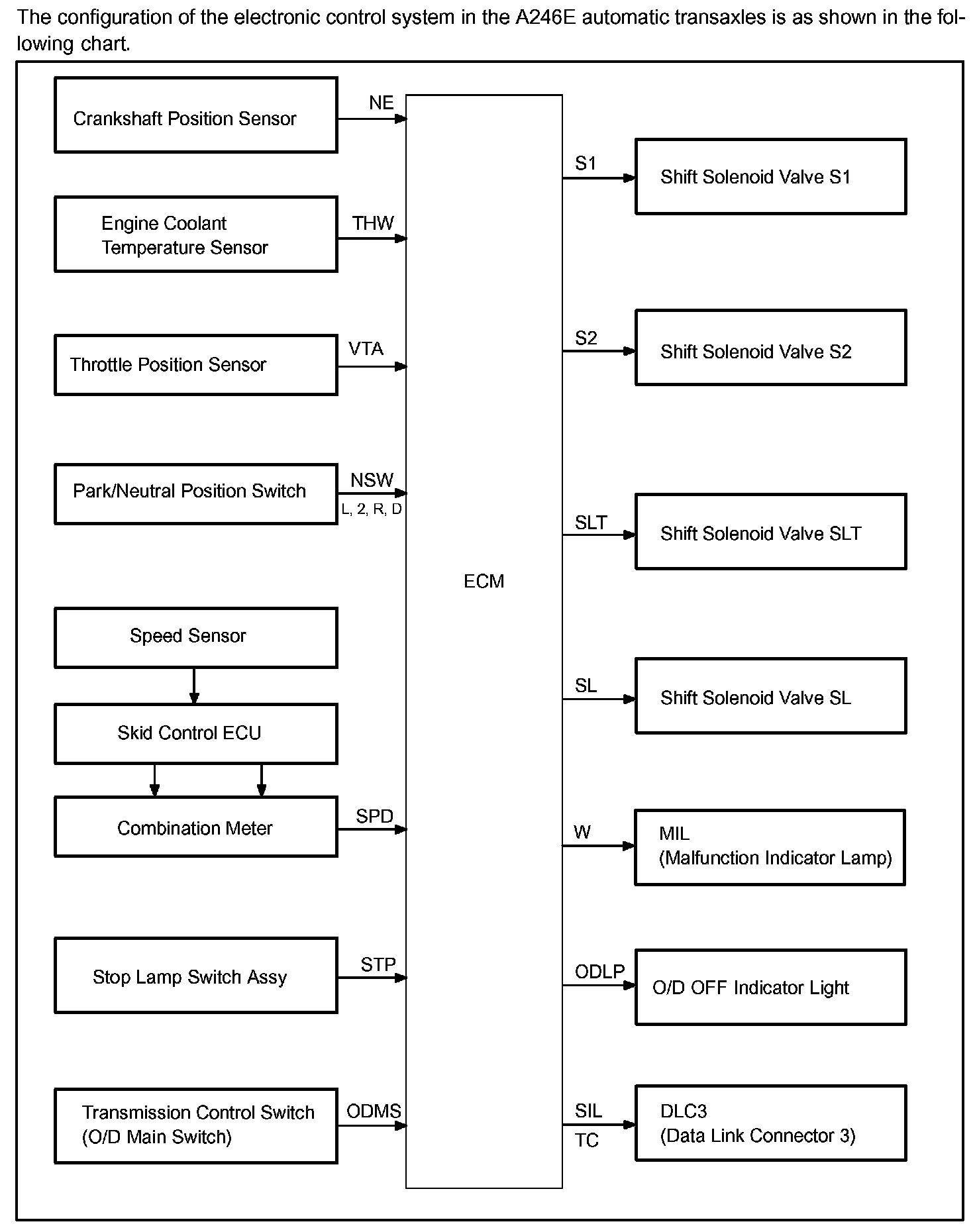
System Description

SYSTEM DESCRIPTION

System Diagram:




System Diagram

System Description
a. The ECT (Electronic controlled automatic transmission/transaxle) is an automatic transmission/transaxle that electronically controls shift timing using the ECM. The ECM detects electrical signals that indicate engine and driving conditions, controls the shift point, and selects the appropriate shift pattern based on driver habits and road conditions. As a result, fuel efficiency and power transmission/transaxle performance are improved.

Shift shock has been reduced by controlling the engine and transmission/transaxle simultaneously. In addition, the ECT has the following features:
- Diagnostic function.
- Fail-safe function when a malfunction occurs.

DIAGNOSIS SYSTEM

Description
1. When troubleshooting OBD II vehicles, the only difference from the usual troubleshooting procedure is that you need to connect an OBD II scan tool complying with SAE J1987 or a hand-held tester to the vehicle, and read off various data output from the vehicle's ECM.




2. OBD II regulations require that the vehicle's on- board computer illuminate the Malfunction Indicator Lamp (MIL) on the instrument panel when the computer detects a malfunction in the computer itself or in the drive system components which affect the vehicle emissions. In addition to the MIL illuminating when a malfunction is detected, the applicable DTCs prescribed by SAE J2012 are recorded in the ECM memory.

If the malfunction does not occur in 3 consecutive trips, the MIL goes off but the DTCs remain in the ECM memory.

3. To check the DTCs, connect the OBD II scan tool or hand-held tester to the DLC3 of the vehicle. The OBD II scan tool or hand-held tester also enables you to erase the DTCs and check freeze frame data and various forms of engine data (For instruction book).
4. The DTCs include SAE controlled codes and Manufacturer controlled codes. SAE controlled codes must be set as prescribed by the SAE, while Manufacturer controlled codes can be set freely by a manufacturer within the prescribed limits (see the DTC chart).
5. The diagnosis system operates in the normal mode during the normal vehicle use, and also has a check mode for technicians to simulate malfunction symptoms and perform troubleshooting. Most DTCs use 2 trip detection logic(*) to prevent erroneous detection. By switching the ECM to the check mode when troubleshooting, the technician can cause the MIL to illuminate for a malfunction that is only detected once or momentarily (hand-held tester).
6. *2 trip detection logic:
When a malfunction is first detected, the malfunction is temporarily stored in the ECM memory. If the same malfunction is detected again during the second test drive, this second detection causes the MIL to illuminate.