Operation CHARM: Car repair manuals for everyone.
Manuals through 2025 now available!

Our trusted friends have launched a new website named LEMON, which has newer manuals. It also contains all the CHARM manuals.

LEMON is the spiritual successor to CHARM, I recommend you try it!

Link: lemon-manuals.la or lemon-manuals.org.ua

(Some people have issue connecting. LEMON is investigating. For now, use Firefox or change your DNS server)

Or, hide this message: temporarily or permanently

Power Window Motor: Testing and Inspection

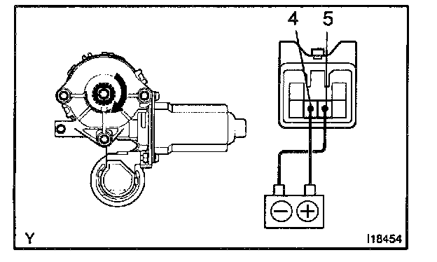
1. Front left side door and rear right side door:
INSPECT POWER WINDOW MOTOR OPERATION





(a) Connect the positive (+) lead from the battery to terminal 4 and the negative (-) lead to terminal 5. Check if the motor turns clockwise.





(b) Reverse the polarity and check if the motor turns counterclockwise.

If operation is not as specified, replace the motor.

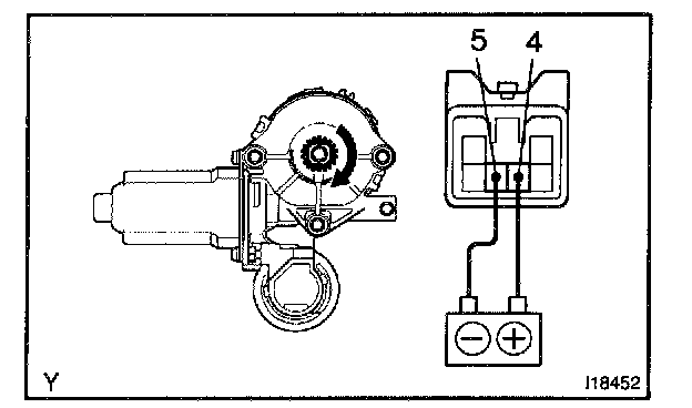
2. Front right side door and rear left side door:
INSPECT POWER WINDOW MOTOR OPERATION





(a) Connect the positive (+) lead from the battery to terminal 5 and the negative (-) lead to terminal 4. Check if the motor turns clockwise.





(b) Reverse the polarity and check if the motor turns counterclockwise.

If operation is not as specified, replace the motor.

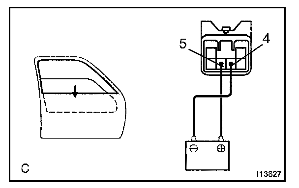
3. INSPECT POWER WINDOW MOTOR PTC THERMISTOR OPERATION

(a) Disconnect the connector from the driver door window motor.





(b) Connect the positive (+) lead from the ammeter to terminal 5 on the wire harness side connector and the negative (-) lead to the negative terminal of the battery.

(c) Connect the positive (+) lead from the battery to terminal 4 on the wire harness side connector. Then, raise the window to the fully closed position.

(d) Continue to apply voltage and check if the current changes to less than 1 A within 4 to 90 seconds.

(e) Disconnect the leads from the terminals.





(f) Approximately 60 seconds later, connect the positive (+) lead from the battery to terminal 5 and the negative (-) lead to terminal 4. Check if the window begins to descend.

If operation is not as specified, replace the motor.

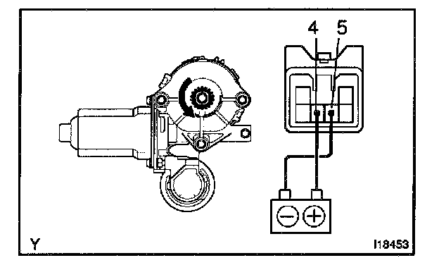
4. Window up:
INSPECT FRONT WINDOW JAM PROTECTION LIMIT SWITCH OPERATION

(a) Disconnect the connector from the master switch.





(b) Connect the positive (+) lead from the ohmmeter to terminal 17 and the negative (-) lead to terminal 2.

(c) Connect the positive (+) lead from the battery to terminal 4 and the negative (-) lead to terminal 9.

(d) Check if continuity exists when the window moves up.





(e) Check if no continuity exists when the window is in the fully closed position.

If operation is not as specified, replace the motor.


5. Window down:
INSPECT FRONT WINDOW JAM PROTECTION LIMIT SWITCH OPERATION





(a) Connect the positive (+) lead from the ohmmeter to terminal 17 and the negative (-) lead to terminal 2.





(b) Connect the positive (+) lead from the battery to terminal 9 and the negative (-) lead to terminal 4.

(c) Check if continuity exists when the window moves up.

(d) Check if no continuity exists when the window is in the fully opened position.

NOTICE: Connecting the wire harness incorrectly may damage the sensor. Caution is necessary.


6. INSPECT FRONT WINDOW JAM PROTECTION PULSE SWITCH OPERATION





(a) Connect the positive (+) lead from the electrical tester to terminal 14 and the negative (-) lead to terminal 2.

(b) Connect the positive (+) lead from the battery to terminal 4 and the negative (-) lead to terminal 9.

(c) Check if pulse is generated when the motor is running.





(d) Reverse the polarity and check if the pulse is generated.

If operation is not as specified, replace the motor.

NOTICE: Connecting the wire harness incorrectly may damage the sensor. Caution is necessary.