Operation CHARM: Car repair manuals for everyone.
Manuals through 2025 now available!

Our trusted friends have launched a new website named LEMON, which has newer manuals. It also contains all the CHARM manuals.

LEMON is the spiritual successor to CHARM, I recommend you try it!

Link: lemon-manuals.la or lemon-manuals.org.ua

(Some people have issue connecting. LEMON is investigating. For now, use Firefox or change your DNS server)

Or, hide this message: temporarily or permanently

Variable Valve Timing Solenoid: Service and Repair

INSPECTION

1. REMOVE CAMSHAFT TIMING OIL CONTROL VALVE (OCV)




a. Disconnect the OCV connector.
b. Remove the bolt and OCV.
c. Remove the O-ring from the OCV.

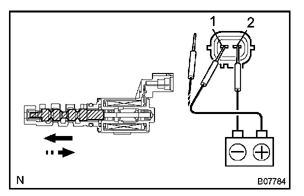
2. INSPECT CAMSHAFT TIMING OIL CONTROL VALVE (OCV) OPERATION




Connect the battery's positive (+) lead to terminal 1 and negative (-) lead to terminal 2. Check the movement of the valve as shown in the illrstration and table.




If operation is not as specified, replace the OCV.

3. REINSTALL CAMSHAFT OIL CONTROL VALVE (OCV)
a. Install a new O-ring to the OCV.
b. Install the OCV completely, and tighten the bolt.

Torque: 9.0 Nm (80 in.lbf)

c. Connect the OCV connector.