Operation CHARM: Car repair manuals for everyone.
Manuals through 2025 now available!

Our trusted friends have launched a new website named LEMON, which has newer manuals. It also contains all the CHARM manuals.

LEMON is the spiritual successor to CHARM, I recommend you try it!

Link: lemon-manuals.la or lemon-manuals.org.ua

(Some people have issue connecting. LEMON is investigating. For now, use Firefox or change your DNS server)

Or, hide this message: temporarily or permanently

Keyless Entry: Service and Repair

REPLACEMENT




1. REPLACE TRANSMITTER (LITHIUM) BATTERY

NOTE: Great caution should be taken for handling each component as they are precision electronic components.

a. Using a screwdriver, remove the cover.

NOTE: Do not pry out the cover forcibly.

HINT: Push the cover with a finger as shown in the illustration, so that there becomes clearance, then pry out the cover from that clearance.

b. Remove the transmitter.




c. Remove the battery (lithium battery).

NOTE:
- Do not push the terminals with a finger.
- If prying up the battery (lithium battery) forcibly to remove, the terminals are deformed.

d. Install a battery (lithium battery) as shown in the illustration.

NOTE: Face the battery upward. Take care not to deform the terminals.

e. Check that the rubber cover is not distorted or slipped off, and install the cover.

2. REPLACE DOOR CONTROL RECEIVER AND TRANSMITTER

NOTE: When replacing the door control receiver and transmitter, registration of recognition code is necessary because they are provided as single components.

a. Select one of the operations mode should be performed from the following modes.
- Add mode
- Rewrite mode
- Prohibition mode
- Confirmation mode

HINT:
- The add mode is used to retain codes already registered while you register new recognition codes. This mode is used when adding a transmitter. However, if the number of registered codes exceeds 4 codes, previously registered codes are correspondingly erased in order, starting from the first registered code.
- The rewrite mode is used to erase all previously registered codes and register only new recognition codes.
- The prohibition mode is used to erase all registered codes and cancels the wireless door lock function. Use this mode when the transmitter is lost.
- The confirmation mode is for confirming how many recognition codes are already registered before you register additional recognition codes.










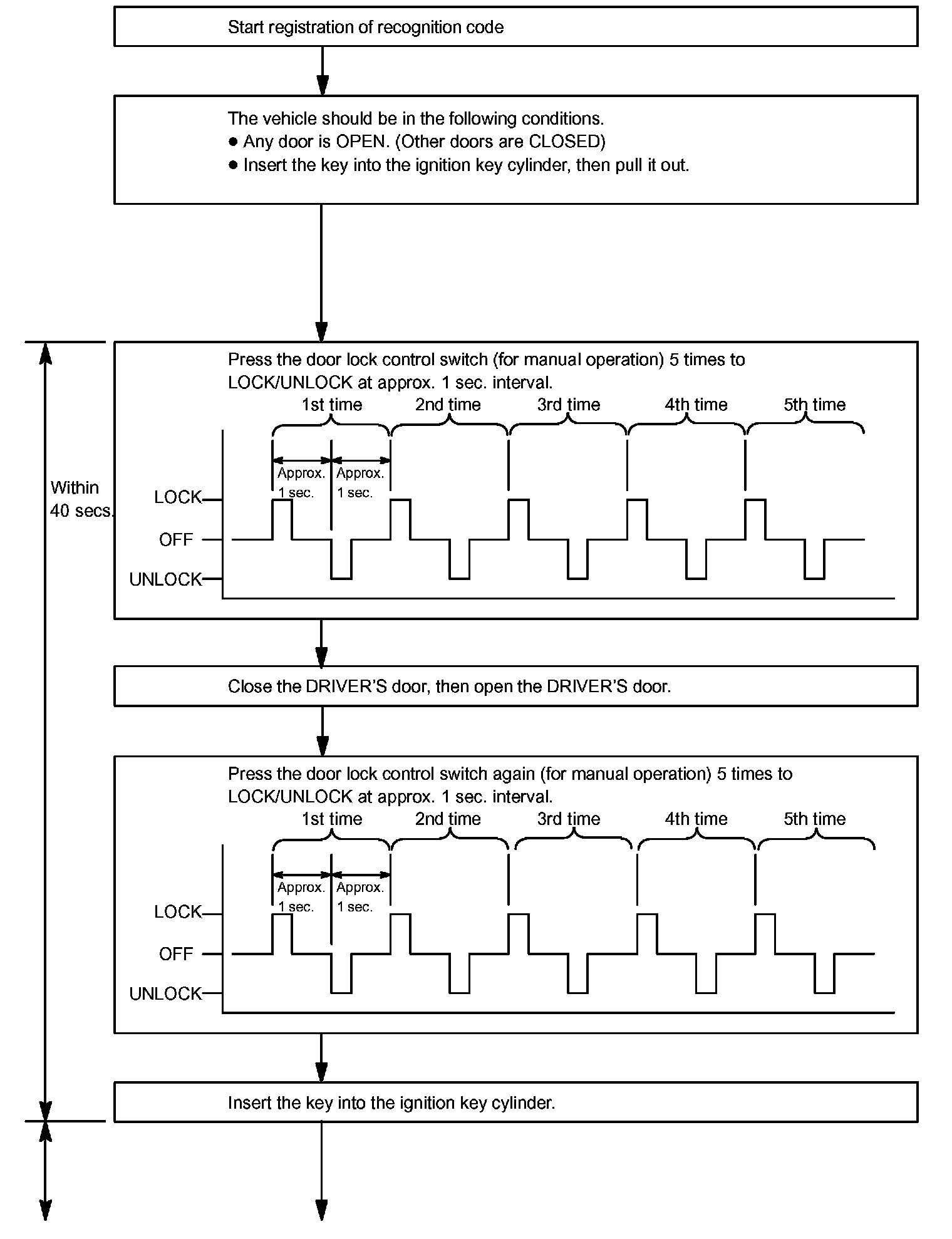
b. Follow the chart to register the transmitter recognition code at the wireless door lock control receiver.

HINT:
- When procedure is out of the specified, the operation returns to normal operation.
- Maximum 4 recognition codes can be registered.