Operation CHARM: Car repair manuals for everyone.
Manuals through 2025 now available!

Our trusted friends have launched a new website named LEMON, which has newer manuals. It also contains all the CHARM manuals.

LEMON is the spiritual successor to CHARM, I recommend you try it!

Link: lemon-manuals.la or lemon-manuals.org.ua

(Some people have issue connecting. LEMON is investigating. For now, use Firefox or change your DNS server)

Or, hide this message: temporarily or permanently

System Specifications

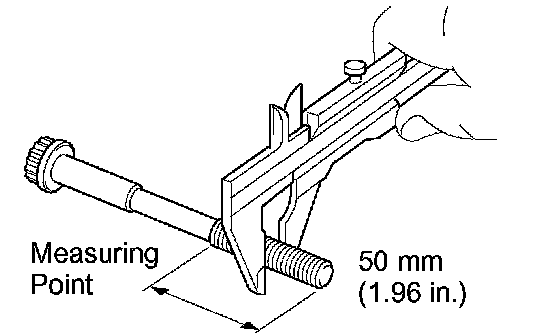
Cylinder Head Warpage
Maximum warpage 0.10 mm (0.0039 inch)





Cylinder Head Set Bolt
Standard outside diameter 9.810 to 9.960 mm (0.3862 to 0.3921 inch)
Minimum outside diameter 9.70 mm (0.3819 inch)

Cylinder Head Torque and Sequence





HINT:
The cylinder head bolts are tightened in 3 progressive steps (steps (c) and (e)).
If any cylinder head bolt is broken or deformed, replace it.

Apply a light coat of engine oil to the threads and under the heads of the cylinder head bolts.
Install and uniformly tighten the 10 cylinder head bolts on one side of the cylinder head in several steps in the sequence shown, then perform the same procedure to the other side as shown.
Torque 40 Nm (408 kgf-cm, 30 ft. lbs.)Initial Torque + 90° + 90°





Mark the front of the cylinder head bolt with paint.
Retighten the cylinder head bolts by 90° in the numerical order shown. Retightend the bolts by an additional 90° in order shown.
Check that the painted mark is now 180° to the front.

Cylinder Head Cover Torque





Install the cylinder head cover with the 9 bolts. Uniformly tighten the bolts in several steps. Install the 2 cylinder head covers.
Torque 6.0 Nm (60 kgf-cm, 53 inch lbs.)

Camshaft Bearing





Install the bearing caps.
Torque:
7.5 Nm (76 kgf-cm, 66 inch lbs.) for bolt A
16 Nm (160 kgf-cm, 12 ft. lbs.) for others

RH Exhaust Manifold





Install the exhaust manifold with 8 new nuts. Uniformly tighten the nuts in several steps.
Torque 44 Nm (450 kgf-cm, 32 ft. lbs.)

LH Exhaust Manifold





Install the exhaust manifold with 8 new nuts. Uniformly tighten the nuts in several steps.
Torque 44 Nm (450 kgf-cm, 32 ft. lbs.)

Intake Manifold





Install and uniformly tighten the 6 bolts and 4 nuts in several steps.
Torque 18 Nm (185 kgf-cm, 13 ft. lbs.)





Install the throttle body cover bracket to the intake manifold.
Torque 7.5 Nm (76 kgf-cm, 66 inch lbs.)
Install the wire bracket to the intake manifold with the bolt.
Torque 7.5 Nm (76 kgf-cm, 66 inch lbs.)