Operation CHARM: Car repair manuals for everyone.
Manuals through 2025 now available!

Our trusted friends have launched a new website named LEMON, which has newer manuals. It also contains all the CHARM manuals.

LEMON is the spiritual successor to CHARM, I recommend you try it!

Link: lemon-manuals.la or lemon-manuals.org.ua

(Some people have issue connecting. LEMON is investigating. For now, use Firefox or change your DNS server)

Or, hide this message: temporarily or permanently

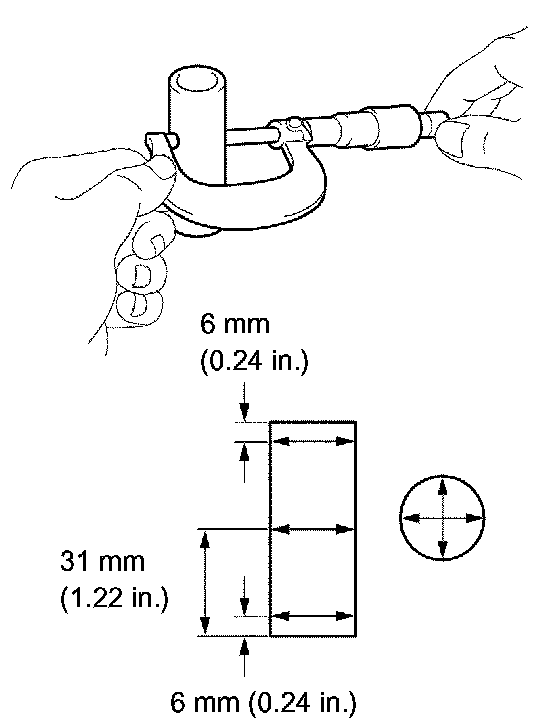
Piston, Engine







- PISTON DIAMETER
a. Using a micrometer, measure the piston diameter at right angles to the piston center line, the indicated distance from the piston end.


- PISTON OIL CLEARANCE
a. Measure the cylinder bore diameter in the thrust directions.
b. Subtract the piston diameter measurement from the cylinder bore diameter measurement.
Standard oil clearance: 0.019 to 0.052 mm (0.0007 to 0.0020 inch)
If the oil clearance is greater than the standard, replace all the pistons and rebore all the cylinders. If necessary, replace the cylinder block.

HINT:
- Bore all the cylinders for the O/S piston outside diameter.
- Replace all the piston rings with ones to match the O/S pistons.

c. If the oil clearance is greater than the standard.
(1) Prepare 4 new O/S pistons.
O/S 0.50 piston diameter: 95.441 to 95.451 mm (3.7575 to 3.7579 inch)
(2) Using a micrometer, measure the piston diameter at right angles to the piston center line, the indicated distance from the piston end.
Distance: 9.3 mm (0.366 inch)
(3) Calculate the amount each cylinder is to be rebored as follows:
Size to be rebored = P + C - H
P = Piston diameter
C = Piston clearance: 0.019 to 0.052 mm (0.0007 to 0.0020 inch)
H = Allowance for honing: 0.02 mm (0.0008 inch) or less
(4) Bore and hone the cylinders to calculated dimensions.
Maximum honing: 0.02 mm (0.0008 inch)

NOTICE: Excess honing will destroy the finished roundness.





- RING GROOVE CLEARANCE
a. Using a feeler gauge, measure the clearance between a new piston ring and the wall of the ring groove.




Ring groove clearance

If the clearance is not as specified, replace the piston.






- PISTON PIN OIL CLEARANCE
a. Using a caliper gauge, measure the inside diameter of the piston pin hole.
Piston pin hole inside diameter: 22.001 to 22.010 mm (0.8662 to 0.8665 inch)





b. Using a micrometer, measure the piston pin diameter.
Piston pin diameter: 21.997 to 22.006 mm (0.8660 to 0.8664 inch)





c. Using a caliper gauge, measure the inside diameter of the connecting rod bushing.
Bushing inside diameter: 22.005 to 22.014 mm (0.8663 to 0.8667 inch)
d. Subtract the piston pin diameter measurement from the piton pin hole diameter measurement.
Standard oil clearance: 0.001 to 0.007 mm (0.00004 to 0.00028 inch)
Maximum oil clearance: 0.010 mm (0.0004 inch)

HINT: If the oil clearance is greater than the maximum, replace the piston and piston pin as a set.





e. Subtract the piston pin diameter measurement from the bushing inside diameter measurement.
Standard oil clearance: 0.005 to 0.011 mm (0.0002 to 0.0004 inch)
Maximum oil clearance: 0.025 mm (0.0010 inch)
If the oil clearance is greater than the maximum, replace the bushing. If necessary, replace the connecting rod and piston pin as a set.