Operation CHARM: Car repair manuals for everyone.
Manuals through 2025 now available!

Our trusted friends have launched a new website named LEMON, which has newer manuals. It also contains all the CHARM manuals.

LEMON is the spiritual successor to CHARM, I recommend you try it!

Link: lemon-manuals.la or lemon-manuals.org.ua

(Some people have issue connecting. LEMON is investigating. For now, use Firefox or change your DNS server)

Or, hide this message: temporarily or permanently

Service Data





Cylinder Block Warpage
Maximum warpage 0.05 mm (0.0020 inch)





Cylinder Bore
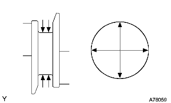
Using a cylinder gauge, measure the cylinder bore diameter at positions A and B in the thrust and axial directions.
Standard diameter 94.000 to 94.012 mm (3.7008 to 3.7013 inch)
Maximum diameter 94.132 mm (3.7060 inch)
If the average diameter of 4 positions is greater than the maximum, replace the cylinder block.





Piston Diameter
Using a micrometer, measure the piston diameter at right angles to the piston pin center line, 27.7 mm (1.091 inch) from the piston head.
Piston diameter 93.910 to 93.920 mm (3.6972 to 3.6976 inch)

Piston Oil Clearance
Subtract the piston diameter measurement from the cylinder bore diameter measurement.
Standard oil clearance 0.080 to 0.102 mm (0.0031 to 0.0040 inch)
Maximum oil clearance 0.13 mm (0.0051 inch)
If the oil clearance is greater than the maximum, replace all the 6 pistons.





Piston Groove Clearance
Ring groove clearance:
No.1 0.02 to 0.07 mm (0.0008 to 0.0028 inch)
No.2 0.02 to 0.06 mm (0.0008 to 0.0024 inch)
Oil 0.07 to 0.15 mm (0.0028 to 0.0060 inch)





Piston Ring End Gap
Using a piston, push the piston ring a little beyond the bottom of the ring travel, 110 mm (4.33 inch) from the top of the cylinder block.
Standard end gap:
No.1 0.30 to 0.40 mm (0.0118 to 0.0157 inch)
No.2 0.40 to 0.50 mm (0.0157 to 0.0197 inch)
Oil (Side rail) 0.10 to 0.40 mm (0.0039 to 0.0157 inch)
Maximum end gap:
No.1 1.0 mm (0.039 inch)
No.2 1.1 mm (0.043 inch)
Oil (Side rail) 1.0 mm (0.039 inch)

Piston Pin Oil Clearance





Piston pin hole inside diameter 22.001 to 22.010 mm (0.8662 to 0.8665 inch)





Piston pin diameter 21.997 to 22.006 mm (0.8660 to 0.8664 inch)





Bushing inside diameter 22.005 to 22.014 mm (0.8663 to 0.8667 inch)

Subtract the piston pin diameter measurement from the piston pin hole diameter measurement.
Standard oil clearance 0.001 to 0.007 mm (0.00004 to 0.00028 inch)
Maximum oil clearance 0.040 mm (0.0016 inch)





Subtract the piston pin diameter measurement from the bushing inside diameter measurement.
Standard oil clearance 0.005 to 0.011 mm (0.0002 to 0.0004 inch)
Maximum oil clearance 0.050 mm (0.0020 inch)

Connecting Rod Sub-Assembly
Maximum misalignment 0.05 mm (0.0020 inch) per 100 mm (3.94 inch)
Maximum twist 0.15 mm (0.0059 inch) per 100 mm (3.94 inch)

Connecting Rod Bolt
Standard diameter 7.2 to 7.3 mm (0.283 to 0.287 inch)
Minimum diameter 7.0 mm (0.276 inch)

Crankshaft
Maximum circle runout 0.06 mm (0.0024 inch)





Diameter 71.988 to 72.000 mm (2.8342 to 2.8346 inch)
Maximum taper and out-of-round 0.02 mm (0.0008 inch)





Diameter 55.992 to 56.000 mm (2.2044 to 2.2047 inch)
Maximum taper and out-of-round 0.02 mm (0.0008 inch)

Crankshaft Bearing Cap Set Bolt
Standard diameter 10.0 to 10.2 mm (0.393 to 0.402 inch)