Operation CHARM: Car repair manuals for everyone.
Manuals through 2025 now available!

Our trusted friends have launched a new website named LEMON, which has newer manuals. It also contains all the CHARM manuals.

LEMON is the spiritual successor to CHARM, I recommend you try it!

Link: lemon-manuals.la or lemon-manuals.org.ua

(Some people have issue connecting. LEMON is investigating. For now, use Firefox or change your DNS server)

Or, hide this message: temporarily or permanently

Starting System: Testing and Inspection

INSPECTION




1. INSPECT STARTER ASSEMBLY

NOTE: These tests must be performed within 3 to 5 seconds to avoid burning out the coil.

a. Do the pull-in test.
1. Disconnect the lead wire from terminal C.
2. Connect the battery to the magnetic switch as shown in the illustration on the left. Check that the clutch pinion gear extends.
If the clutch pinion gear does not move, replace the magnetic switch.




b. Do the hold-in test.
1. Maintain the battery connections in step (a), but disconnect the negative (-) lead from terminal C. Check that the pinion gear remains extended.
If the clutch pinion gear returns inward, replace the magnetic switch.




c. Check the clutch pinion gear return.
1. Disconnect the negative (-) lead from the switch body. Check that the clutch pinion gear returns.
If the clutch pinion gear does not return, replace the magnetic switch.




d. Do the no-load performance test.
1. Connect the lead wire to terminal C. Make sure that the lead is not grounded.
2. Clamp the starter in a vise.
3. Connect the battery and an ammeter to the starter as shown in the illustration.
4. Check that the starter rotates smoothly and steadily with the clutch pinion gear extended. Check that the ammeter reads the specified current.
Specified current: 90 A or less at 11.5 V







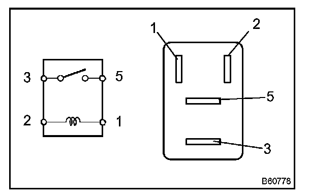
2. INSPECT STARTER RELAY ASSEMBLY
a. Check the resistance of the ST relay.
If the result is not as specified, replace the relay.







3. INSPECT IGNITION OR STARTER SWITCH ASSEMBLY
a. Inspect the switch resistance.
If the result is not as specified, replace the switch assembly.