Operation CHARM: Car repair manuals for everyone.
Manuals through 2025 now available!

Our trusted friends have launched a new website named LEMON, which has newer manuals. It also contains all the CHARM manuals.

LEMON is the spiritual successor to CHARM, I recommend you try it!

Link: lemon-manuals.la or lemon-manuals.org.ua

(Some people have issue connecting. LEMON is investigating. For now, use Firefox or change your DNS server)

Or, hide this message: temporarily or permanently

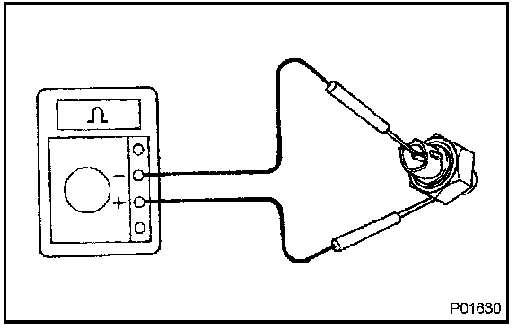
Knock Sensor: Testing and Inspection

INSPECTION

INSPECT KNOCK SENSOR (1MZ-FE ENGINE TYPE)




a. Using an ohmmeter, measure the resistance between the terminal and body.

Standard: 10 kOhms or higher

HINT: If the result is not as specified, replace the sensor.

INSPECT KNOCK SENSOR (3MZ-FE ENGINE TYPE)




a. Using an ohmmeter, measure the resistance between the terminals.

Standard: 120 to 280 kOhms at 20 degrees C (68 degrees F)

HINT: If the result is not as specified, replace the sensor.