Operation CHARM: Car repair manuals for everyone.
Manuals through 2025 now available!

Our trusted friends have launched a new website named LEMON, which has newer manuals. It also contains all the CHARM manuals.

LEMON is the spiritual successor to CHARM, I recommend you try it!

Link: lemon-manuals.la or lemon-manuals.org.ua

(Some people have issue connecting. LEMON is investigating. For now, use Firefox or change your DNS server)

Or, hide this message: temporarily or permanently

Front Wheel Alignment

NOTICE: For Zero Point Calibration information, please refer to: TSB T-SB-0020-8 (3/25/08).

FRONT WHEEL ALIGNMENT ADJUSTMENT

1. INSPECT TIRE





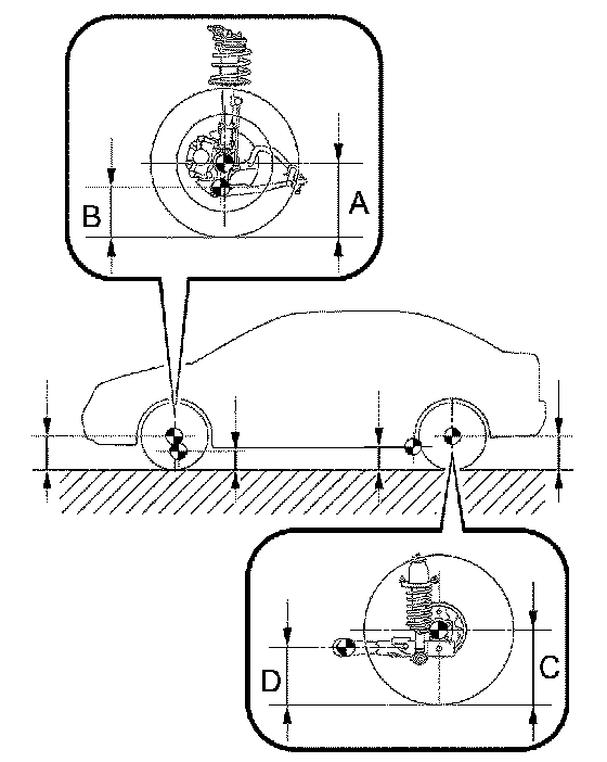
2. MEASURE VEHICLE HEIGHT

Vehicle height:





1ZZ-FE





2ZZ-GE

Measuring points:
A: Ground clearance of front wheel center
B: Ground clearance of lower suspension arm front bolt center
C: Ground clearance of rear wheel center
D: Ground clearance of axle beam set bolt center

NOTICE: Before inspecting the wheel alignment, adjust the vehicle height to the specified value.

HINT: Bounce the vehicle at the corners up and down to stabilize the suspension and inspect the vehicle height.





3. INSPECT TOE-IN





Toe-in

HINT:
- Measure "C - D" only when "A + B" can not be measured.
- If the toe-in is not within the specified value, adjust it at the rack ends.

4. ADJUST TOE-IN
a. Measure the thread lengths of the right and left rack ends.
Standard: Difference in thread length of 1.5 mm or less
b. Remove the rack boot set clips.
c. Loosen the tie rod end lock nuts.
d. Adjust the rack ends if the difference in thread length between the right and left rack ends is not within the specified range.
(1) Extend the shorter rack end if the measured toe-in deviates toward the outer-side.
(2) Shorten the longer rack end if the measured toe-in deviates toward the inner-side.
e. Turn the right and left rack ends by an equal amount to adjust toe-in.

HINT: Try to adjust toe-in to the center of the specified range.





f. Make sure that the lengths of the right and left rack ends are the same. Standard: 0 � 1 mm
g. Torque the tie rod end lock nuts.
Torque: 74 Nm (749 kgf-cm, 54 ft. lbs.)

NOTICE: Temporarily tighten the lock nut while holding the hexagonal part of the steering rack end so that the lock nut and the steering rack end do not turn together. Hold the width across flat of the tie rod end and tighten the lock nut.

h. Place the boots on the seats and install the clips.

HINT: Make sure that the boots are not twisted.





5. INSPECT WHEEL ANGLE
a. Turn the steering wheel fully and measure the turning angle.

Wheel turning angle:





1ZZ-FE





2ZZ-GE

If the right and left inside wheel angles differ from the specified value, check the right and left rack end lengths.





6. INSPECT CAMBER, CASTER AND STEERING AXIS INCLINATION
a. Put the front wheel on the center of the alignment tester.
b. Remove the center ornament.
c. Install the camber-caster-steering axis inclination gauge at the center of the axle hub or drive shaft.
d. Inspect the camber, caster and steering axis inclination.

Camber, caster and steering axis inclination:





1ZZ-FE





2ZZ-GE

NOTICE:
- Inspect while the vehicle is empty (without the spare tire or tools on-board).
- The maximum tolerance of right and left difference for the camber and caster is 45° or less.

e. Remove the camber-caster-steering axis inclination gauge and attachment.
f. Install the center ornament.
If the caster and steering axis inclination are not within the specified values, after the camber has been correctly adjusted, recheck the suspension parts for damaged and/or worn out parts.
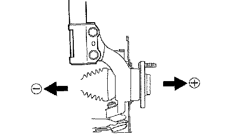
7. ADJUST CAMBER

NOTICE: After the camber has been adjusted, inspect the toe-in.

a. Remove the front wheel.





b. Remove the 2 nuts on the lower side of the shock absorber assy front LH.

NOTICE: When removing the nut, stop the bolt from rotating and loosen the nut.

c. Clean the installation surfaces of the shock absorber assy front LH and the steering knuckle.
d. Temporarily install the 2 nuts.





e. Fully push or pull the front axle hub in the direction of the required adjustment.
f. Tighten the nuts.
Torque: 153 Nm (1,560 kgf-cm, 113 ft. lbs.)

NOTICE: Keep the bolts from rotating and torque the nuts.

g. Install the front wheel.
Torque: 103 Nm (1,050 kgf-cm, 76 ft. lbs.)
h. Check the camber.
If the measured value is not within the specified range, calculate the required adjustment amount using the formula below.
(Camber adjustment amount) = Center of the specified range - Measured value





Check installed bolts combination. Select appropriate bolts from the table to adjust the camber to within the specified range.





Table (1) (Move the axle toward positive side)





Selected Bolt Combination





The body and suspension may be damaged if the camber is not correctly adjusted according to the above table.

NOTICE: Replace the nut with a new one when replacing the bolt.

i. Repeat the steps mentioned above. At step (b), replace 1 or 2 selected bolts.

HINT: Replace one bolt at a time when replacing 2 bolts.





Table (2) (Move the axle toward negative side)





Selected Bolt Combination





The body and suspension may be damaged if the camber is not correctly adjusted according to the above table.

NOTICE: Replace the nut with a new one when replacing the bolt. Repeat the steps mentioned above. At step (b), replace 1 or 2 selected bolts.

HINT: Replace one bolt at a time when replacing 2 bolts.