Operation CHARM: Car repair manuals for everyone.
Manuals through 2025 now available!

Our trusted friends have launched a new website named LEMON, which has newer manuals. It also contains all the CHARM manuals.

LEMON is the spiritual successor to CHARM, I recommend you try it!

Link: lemon-manuals.la or lemon-manuals.org.ua

(Some people have issue connecting. LEMON is investigating. For now, use Firefox or change your DNS server)

Or, hide this message: temporarily or permanently

Part 2

OVERHAUL (CONTINUED)
18. CHECK RING GROOVE CLEARANCE





a) Using a feeler gauge, measure the clearance between the new piston ring and the wall of the ring groove.





Ring groove clearance

If the groove clearance is not as specified, replace the piston assembly.
19. CHECK PISTON RING END GAP





a) Using a piston, push the piston ring a little beyond the bottom of the ring travel, 110 mm (4.33 inch) from the top of the cylinder block.





b) Using a feeler gauge, measure the end gap.





Standard end gap





Maximum end gap

^ If the end gap is greater than maximum, replace the piston ring.
^ If the end gap is greater than maximum, even with a new piston ring, replace the cylinder block.

20. INSPECT CONNECTING ROD SUB-ASSEMBLY
a) Using a connecting rod aligner and feeler gauge, check the connecting rod alignment.





1) Check for misalignment.
Maximum misalignment: 0.05 mm (0.0020 inch) per 100 mm (3.94 inch)
If the misalignment is greater than maximum, replace the connecting rod assembly.





2) Check for twist.
Maximum twist: 0.05mm (0.0020 inch) per 100 mm (3.94 inch)
If the twist is greater than maximum, replace the connecting rod assembly.

21. INSPECT CONNECTING ROD BOLT





a) Using vernier calipers, measure the tension portion diameter of the bolts.
Standard diameter: 6.6 to 6.7 mm (0.260 to 0.264 inch)
Minimum diameter: 6.4 mm (0.252 inch)
If the diameter is less than minimum, replace the connecting rod bolt.
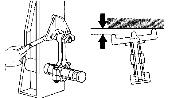
22. INSPECT CRANKSHAFT





a) Using a dial indicator and V-blocks, measure the circle runout as shown in the illustration.
Maximum circle runout: 0.03 mm (0.0012 inch)
If the circle runout is greater than maximum, replace the crankshaft.





b) Using a micrometer, measure the diameter of each main journal at the points shown in the illustration.
Diameter: 47.988 to 48.000 mm (1.8893 to 1.8898 inch)
If the diameter is not as specified, check the crankshaft oil clearance.
c) Check each main journal for taper and distortion as shown.
Maximum taper and distortion: 0.02 mm (0.0008 inch)
If the taper and distortion are greater than maximum, replace the crankshaft.





d) Using a micrometer, measure the diameter of each crank pin at the points shown in the illustration.
Diameter: 43.992 to 44.000 mm (1.7320 to 1.7323 inch)
If the diameter is not as specified, check the connecting rod oil clearance.
e) Check each crank pin for taper and distortion.
Maximum taper and distortion: 0.02 mm (0.0008 inch)
If the taper and distortion are greater than maximum, replace the crankshaft.
23. INSPECT CRANKSHAFT BEARING CAP SET BOLT





a) Using vernier calipers, measure the tension portion diameter of the bolts.
Standard diameter: 7.3 to 7.5 mm (0.287 to 0.295 inch)
Minimum diameter: 7.3 mm (0.287 inch)
If the diameter is less than minimum, replace the crankshaft bearing cap set bolt.
24. CHECK CRANKSHAFT OIL CLEARANCE

NOTICE: Do not turn the crankshaft.

a) Clean each main journal and bearing.





b) Place the crankshaft on the cylinder block.
c) Lay a strip of the Plastigage across each journal.





d) Using SST, tighten the bolts to the specified torque in the several passes in the sequence shown.
Torque: 44 Nm (449 kgf-cm, 33 ft. lbs.)





e) Mark the front of the bearing cap bolts with paint.
f) Retighten the bearing cap bolts by 90° as shown in the illustration.
g) Check that the painted mark of each bolt is now at a 90° angle to the front.





h) Tighten the 10 other bolts for the bearing cap.
Torque: 19 Nm (194 kgf-cm, 14 ft. lbs.)
i) Remove the 10 bolts.





j) Uniformly loosen the 10 bearing cap bolts in several passes in the sequence shown in the illustration.





k) Measure the Plastigage at its widest point.
Standard oil clearance: 0.015 to 0.032 mm (0.0006 to 0.0013 inch)
Maximum oil clearance: 0.05 mm (0.0020 inch)

NOTICE: Completely remove the Plastigage.

^ If the oil clearance is greater than maximum, replace the crankshaft bearing.
^ If necessary, replace the crankshaft.








HINT: If replacing a bearing, select a new one with the same number. If the number of the bearing cannot be determined, calculate the correct bearing number by adding together the numbers imprinted on the cylinder block and crankshaft, then select a new bearing with the calculated number. There are 4 sizes of standard bearings, marked "1", "2", "3" and "4" accordingly.





EXAMPLE:
Cylinder block "3" (A) + Crankshaft "4" (B) = Total number 7 (Use bearing "3")

25. INSTALL STRAIGHT PIN





a) Using a plastic hammer, install 9 new straight pins into the cylinder block.





Standard protrusion

26. INSTALL RING PIN





a) Using a plastic hammer, install 5 new ring pins into the cylinder block.





Standard protrusion

27. INSTALL STUD BOLT





a) Using torx socket wrenches E5 and E7, install 9 stud bolts into the cylinder block.





Torque

28. INSTALL W/PIN PISTON SUB-ASSEMBLY





a) Using a small screwdriver, install a new snap ring onto one end of the piston pin hole.

HINT: Make sure that the end gap of the snap ring is aligned with the pin hole cutout portion of the piston.





b) Gradually heat the piston up to 80 to 90°C (176 to 194°F).





c) Align the front mark on the piston with the one on the connecting rod, then push in the piston pin with your thumb.





d) Using a small screwdriver, install a new snap ring onto one end of the piston pin hole.

HINT: Make sure that the end gap of the snap ring is aligned with the pin hole cutout portion of the piston.

29. INSTALL PISTON RING SET

HINT: If reusing the piston rings, install them onto the matched pistons with the surfaces facing correctly.





a) Install the oil ring expander and 2 side rails by hand.
b) Using a piston ring expander, install the 2 compression rings with the code mark facing upward.
Code mark (No. 2 only): 2R





c) Position the piston rings so that the ring ends are as shown.
30. INSTALL CRANKSHAFT BEARING





a) Install the upper bearing with an oil groove onto the cylinder block.

NOTICE: Do not apply engine oil to the bearing and its contact surface.





b) Install the lower bearing onto the bearing cap.

NOTICE: Do not apply engine oil to the bearing and its contact surface.

31. INSTALL CRANKSHAFT THRUST WASHER UPPER





a) Install the 2 thrust washers onto the No. 3 journal position of the cylinder block with the oil grooves facing outward.
32. INSTALL CRANKSHAFT





a) Apply engine oil to the upper bearing, then install the crankshaft onto the cylinder block.
b) Apply a light coat of engine oil to the bolt threads, bolt seats, and bearings of the bearing cap.





c) Apply a continuous bead of seal packing (Diameter 2.5 to 3.5 mm (0.098 to 0.138 inch)) as shown in the illustration.
Seal packing: Part No. 08826-00080 or equivalent

NOTICE:
^ Remove any oil from the contact surface.
^ Install the bearing cap sub-assembly within 3 minutes of applying seal packing.
^ Do not put in engine oil for at least 2 hours after installation.





d) Tighten the bolts to the specified torque in several passes in the sequence shown.
Torque: 44 Nm (449 kgf-cm, 33 ft. lbs.)





e) Mark the front of the bearing cap bolts with paint.
f) Retighten the bearing cap bolts by 90° as shown in the illustration.
g) Check that the painted mark of each bolt is now at a 90° angle to the front.





h) Tighten the 10 other bolts for the bearing cap.
Torque: 19 Nm (194 kgf-cm, 14 ft. lbs.)
33. INSTALL CONNECTING ROD BEARING





a) Align the connecting rod bearing claw with the oil groove of the connecting rod cap.
b) Install the connecting rod bearing onto the connecting rod cap.

NOTICE: Do not apply engine oil to the bearing and its contact surface.





c) Align the connecting rod bearing claw with the oil groove of the connecting rod.
d) Install the connecting rod bearing onto the connecting rod.

NOTICE: Do not apply engine oil to the bearing and its contact surface.

34. INSTALL CONNECTING ROD SUB-ASSEMBLY





a) Position the piston rings so that the ring ends are as shown.
b) Apply engine oil to the cylinder walls, pistons, and surfaces of the connecting rod bearings.





c) Using a piston ring compressor, correctly push into the numbered piston and connecting rod assemblies each cylinder with the front mark of the piston facing forward.





d) Align the pin dowels of the connecting rod cap with the pins of the connecting rod, then install the connecting rod.

NOTICE: Match the numbered connecting rod cap with the same numbered connecting rod.

e) Check that the protruding portion of the connecting rod.
f) Apply a light coat of engine oil to the threads and the bottom of the heads of the connecting rod cap bolts.





g) Using SST, tighten the bolts in several passes to the specified torque.
SST 09205-16010
Torque: 20 Nm (204 kgf-cm, 15 ft. lbs.)
h) Mark the front of the connecting cap bolts with paint.





i) Retighten the cap bolts by an additional 90° as shown in the illustration.
j) Check that the crankshaft turns smoothly.
35. INSTALL CYLINDER BLOCK WATER DRAIN COCK SUB-ASSEMBLY





a) Apply adhesive to 2 or 3 threads of the cylinder block water drain cock, then install it within 3 minutes of applying as shown in the illustration.
Torque: 25 Nm (255 kgf-cm, 18 ft. lbs.)
Adhesive: Part No. 08833-00080, THREE BOND 1344, LOCTITE 242 or equivalent





b) After tightening the drain cock to the specified torque, turn the cylinder block water drain cock clockwise until its drain port faces downward.

NOTICE:
^ Do not put in coolant for at least an hour after installation.
^ Do not turn the drain union more than 360° in (b), and never loosen it after setting the union correctly.