Operation CHARM: Car repair manuals for everyone.
Manuals through 2025 now available!

Our trusted friends have launched a new website named LEMON, which has newer manuals. It also contains all the CHARM manuals.

LEMON is the spiritual successor to CHARM, I recommend you try it!

Link: lemon-manuals.la or lemon-manuals.org.ua

(Some people have issue connecting. LEMON is investigating. For now, use Firefox or change your DNS server)

Or, hide this message: temporarily or permanently

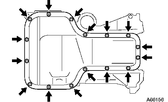
Oil Pan, Engine





Apply a continuous bead of seal packing (Diameter 4 to 5 mm (0.15748 to 0.19685 inch)) to the oil pan mating surface as shown in the illustration.
Seal packing: Part No. 08826-00080 or equivalent

NOTICE:
Remove any oil from the contact surface.
Install the oil pan within 3 minutes of applying seal packing.
Do not put in engine oil for at least 2 hours after installation.





Install the oil pan with the 12 bolts and 4 nuts.
Torque 9.0 Nm (92 kgf-cm, 80 inch lbs.)

NOTICE:
Tighten the bolts and nuts to the specified torque in two passes.
Tighten the bolts and nuts within 15 minutes of applying sealant (if possible within 3 minutes).