Operation CHARM: Car repair manuals for everyone.
Manuals through 2025 now available!

Our trusted friends have launched a new website named LEMON, which has newer manuals. It also contains all the CHARM manuals.

LEMON is the spiritual successor to CHARM, I recommend you try it!

Link: lemon-manuals.la or lemon-manuals.org.ua

(Some people have issue connecting. LEMON is investigating. For now, use Firefox or change your DNS server)

Or, hide this message: temporarily or permanently

Inspection

INSPECTION




1. POWER WINDOW SYSTEM CIRCUIT










2. INSPECT POWER WINDOW REGULATOR MASTER SWITCH ASSEMBLY
a. Measure the resistance of the master switch.
If the result is not as specified, replace the master switch







b. Inspect the master switch illumination.
If the result is not as specified, replace the master switch.







3. INSPECT POWER WINDOW REGULATOR SWITCH ASSEMBLY
a. Measure the resistance of the front passenger regulator switch.
If the result is not as specified, replace the regulator switch.







4. INSPECT POWER WINDOW REGULATOR SWITCH ASSEMBLY REAR
a. Measure the resistance of the rear regulator switch.
If the result is not as specified, replace the regulator switch.

5. INSPECT POWER WINDOW REGULATOR MOTOR







a. Inspect the regulator motor operation.

HINT:
- The driver's side and rear RH regulator motors should be inspected in the same procedure.
- The passenger's side and rear LH regulator motors should be inspected in the same procedure.

1. Check that the motor operates smoothly when battery positive voltage is applied to each terminal of the connector.
If the result is not as specified, replace the motor.




b. Inspect the PTC operation inside the regulator motor.

NOTE: The inspection should be performed with the power window regulator and door glass installed to the vehicle.

1. Set a DC 400 A probe of the TOYOTA electrical tester to terminal 4 or 5 of the wire harness.

NOTE: Match the arrow mark of the probe with the current direction.

2. Set the door glass to the fully closed position.
3. When 60 seconds have elapsed after the door glass is fully closed, pull the power window switch up once again. Check how long it takes for the current to change from approximately 16 to 34 A into 1 A or less.

Standard: Approximately 4 to 90 seconds




4. When approximately 60 seconds have elapsed after the inspection of the current cut-off, check that the door glass moves down when the power window regulator DOWN switch is pushed.
If the result is not as specified, replace the motor.







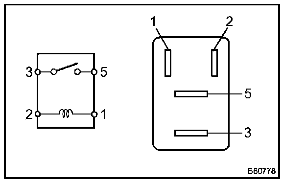
6. INSPECT RELAY (Making: P/W)
a. Remove the P/W relay from the instrument panel J/B.
b. Measure the resistance of the relay.
If the result is not as specified, replace the relay.