Operation CHARM: Car repair manuals for everyone.
Manuals through 2025 now available!

Our trusted friends have launched a new website named LEMON, which has newer manuals. It also contains all the CHARM manuals.

LEMON is the spiritual successor to CHARM, I recommend you try it!

Link: lemon-manuals.la or lemon-manuals.org.ua

(Some people have issue connecting. LEMON is investigating. For now, use Firefox or change your DNS server)

Or, hide this message: temporarily or permanently

Disposal

DISPOSAL

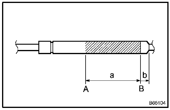
HINT: Use the same procedures for the RH side and LH side.







1. DISPOSE BACK WINDOW STAY ASSEMBLY LH
a. Horizontally fix the stay in a vise with the piston-rod pulled out.
b. Using a metal saw, gradually cut any area between A and B to release the gas.

CAUTION: As metal debris may be blown outward by the gas, you must:
- Wear protective glasses.
- Cover the area being cut.

NOTE: The gas is colorless, odorless and harmless.