Operation CHARM: Car repair manuals for everyone.
Manuals through 2025 now available!

Our trusted friends have launched a new website named LEMON, which has newer manuals. It also contains all the CHARM manuals.

LEMON is the spiritual successor to CHARM, I recommend you try it!

Link: lemon-manuals.la or lemon-manuals.org.ua

(Some people have issue connecting. LEMON is investigating. For now, use Firefox or change your DNS server)

Or, hide this message: temporarily or permanently

Inspection

INSPECTION

1. INSPECT SPARK PLUG

NOTE:
- Never use a wire brush for cleaning.
- Never attempt to adjust the electrode gap on used spark plug.
- Spark plug should be replaced every 192,000 km (120,000 miles).




a. Clean the spark plugs.
Air pressure: Below 588 kPa (6.0 kgf/cm2, 85 psi)
Duration: 20 seconds or less




b. Check the spark plug for any damage on its thread and insulator.

HINT: If damaged, replace the spark plug.
Recommended spark plug:
SK16R11 (DENSO made)
IFR5A11 (NGK made)




c. Check the spark plug electrode gap.
Electrode gap: 1.0 to 1.3 mm (0.039 to 0.051 in.)

2. INSPECT CAMSHAFT POSITION SENSOR
a. Using an ohmmeter, measure the resistance between the terminals.
RESISTANCE:
835 to 1400Ohms at cold
1060 to 1645Ohms at hot

NOTE: Cold and Hot mean the temperature of the coils themselves. Cold is from -10°C (14°F) to 50°C (122°F) and Hot is from 50°C (122°F) to 100°C (212°F).

HINT: If the resistance is not as specified, replace the camshaft position sensor.

3. INSPECT CRANKSHAFT POSITION SENSOR
a. Using an ohmmeter, measure the resistance between the terminals.
RESISTANCE:
1630 to 2740Ohms at cold
2065 to 3225Ohms at hot

NOTE: Cold and Hot mean the temperature of the coils themselves. Cold is from -10°C (14°F) to 50°C (122°F) and Hot is from 50°C (122°F) to 100°C (212°F).

HINT: If the resistance is not as specified, replace the crankshaft position sensor.

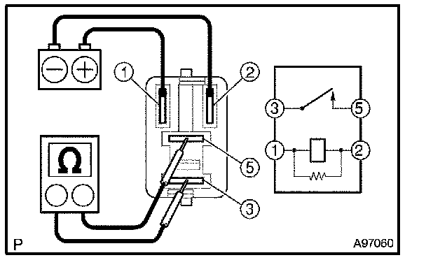
4. INSPECT IGNITION RELAY NO.1




a. Check the resistance.
1. Using an ohmmeter, measure the resistance between the terminals.




Standard:

If the result is not as specified, replace the ignition relay.