Operation CHARM: Car repair manuals for everyone.
Manuals through 2025 now available!

Our trusted friends have launched a new website named LEMON, which has newer manuals. It also contains all the CHARM manuals.

LEMON is the spiritual successor to CHARM, I recommend you try it!

Link: lemon-manuals.la or lemon-manuals.org.ua

(Some people have issue connecting. LEMON is investigating. For now, use Firefox or change your DNS server)

Or, hide this message: temporarily or permanently

System Specifications





Main Bearing Cap Bolts
First Pass 40 Nm (408 kgf-cm, 30 ft. lbs.)
Final Pass 90°

Surface Variation - Head - to - Block Maximum 0.05 mm (0.0020 inch)





Cylinder Bore Diameter
At Positions A And B
Standard 88.500 to 88.513 mm (3.4843 to 3.4847 inch)
Maximum 88.633 mm (3.4894 inch)





Piston Diameter (Standard) 88.477 to 88.487 mm (3.5125 to 3.5129 inch)

Cylinder To Piston Clearance
Standard 0.021 to 0.044 mm (0.0008 To 0.0017 inch)
Maximum 0.10 mm (0.0039 inch)

Piston Ring Groove Clearance
No. 1 Ring 0.020 to 0.070 mm (0.0008 to 0.0028 inch)
No. 2 Ring 0.020 to 0.060 mm (0.0008 to 0.0024 inch)
Oil Ring 0.020 to 0.070 mm (0.0008 to 0.0028 inch)





Piston Ring End Gap
Standard
No. 1 Ring 0.24 to 0.31 mm (0.0094 to 0.0122 inch)
No. 2 Ring 0.33 to 0.43 mm (0.0130 to 0.0169 inch)
Oil Ring 0.10 to 0.30 mm (0.0040 to 0.0119 inch)
Maximum
No. 1 Ring 0.89 mm (0.0350 inch)
No. 2 Ring 1.37 mm (0.0539 inch)
Oil Ring 0.73 mm (0.0287 inch)

Piston Pin
Standard Piston Pin Bore Diameter 22.001 to 22.010 mm (0.8662 to 0.8665 inch)
Standard Pin Diameter 21.997 to 22.006 mm (0.8660 to 0.8664 inch)

Connecting Rod
Small End Bore Diameter
Standard 22.005 to 22.014 mm (0.8663 to 0.8667 inch)
Large End Bore Diameter (Standard)
Mark 1 51.000 to 51.007 mm (2.0079 to 2.0082 inch)
Mark 2 51.008 to 51.013 mm (2.0082 to 2.0084 inch)
Mark 3 51.014 to 51.020 mm (2.0084 to 2.0087 inch)
Maximum Misalignment 0.05 mm (0.0020 inch) Per 100 mm (3.94 inch)
Maximum Twist 0.15 mm (0.0059 inch) Per 100 mm (3.94 inch)
Thrust Clearance
Standard 0.160 to 0.362 mm (0.0063 to 0.0143 inch)
Maximum 0.362 mm (0.0143 inch)
Oil Clearance
Standard 0.024 to 0.048 mm (0.0009 to 0.0019 inch)
Maximum 0.08 mm (0.0032 inch)

Connecting Rod Bearing Thickness (Standard)
Mark 1 1.485 to 1.488 mm (0.0585 to 0.0586 inch)
Mark 2 1.489 to 1.491 mm (0.0586 to 0.0587 inch)
Mark 3 1.492 to 1.494 mm (0.0587 to 0.0588 inch)





Connecting Rod Bolt Diameter
Standard 7.2 to 7.3 mm (0.283 to 0.287 inch)
Minimum 7.0 mm (0.276 inch)

Connecting Rod Bolts 24.5 Nm (250 kgf-cm, 18 ft. lbs.)





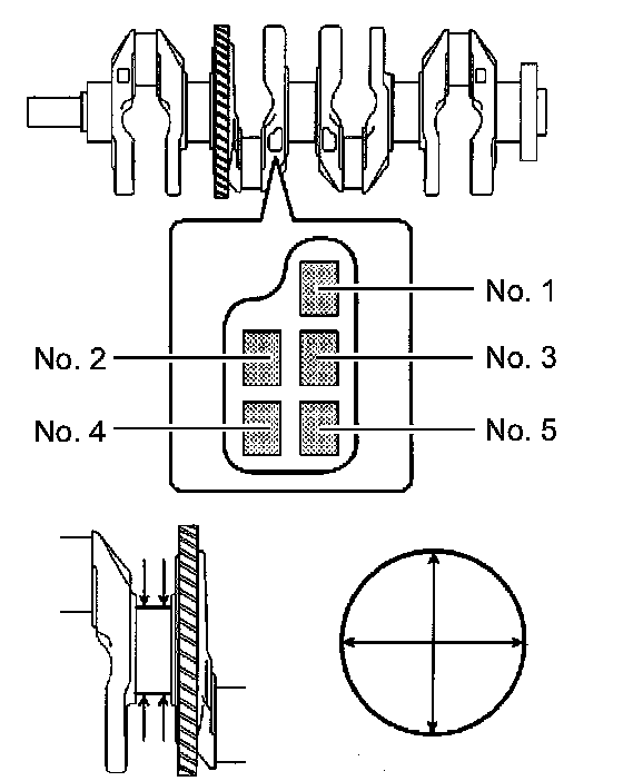
Crankshaft
Maximum Taper And Distortion 0.003 mm (0.0001 inch)
Main Journal Diameter 54.988 to 55.000 mm (2.1830 to 2.1654 inch)
Crank Pin Standard Diameter 47.990 to 48.000 mm (1.8894 to 1.8898 inch)

Standard Cylinder Block Journal Bore Diameter:





Crankshaft Block Journal Bore Diameter (Standard)

Standard Crankshaft Journal Diameter (Part 1):




Standard Crankshaft Journal Diameter (Part 2):





Crankshaft Journal Diameter (Standard)

Standard Bearing Center Wall Thickness:





Crankshaft Bearing Center Wall Thickness (Standard)





Crankshaft Bearing Cap Bolt Diameter
Standard 7.5 to 7.6 mm (0.295 to 0.299 inch)
Minimum 7.5 mm (0.295 inch)

Crankshaft Pulley Bolt 180 Nm (1,835 kgf-cm, 133 ft. lbs.)