Operation CHARM: Car repair manuals for everyone.
Manuals through 2025 now available!

Our trusted friends have launched a new website named LEMON, which has newer manuals. It also contains all the CHARM manuals.

LEMON is the spiritual successor to CHARM, I recommend you try it!

Link: lemon-manuals.la or lemon-manuals.org.ua

(Some people have issue connecting. LEMON is investigating. For now, use Firefox or change your DNS server)

Or, hide this message: temporarily or permanently

System Specifications





Cylinder Head Bolts
First Pass 70 Nm (714 kgf-cm, 52 ft. lbs.)
Final Pass 90°

Cylinder Head Set Bolt
Standard bolt length 141.3 to 142.7 mm (5.563 to 5.618 inch)
Maximum bolt length 144.2 mm (5.677 inch)

Surface Variation - Warpage 0.08 mm (0.0032 inch)





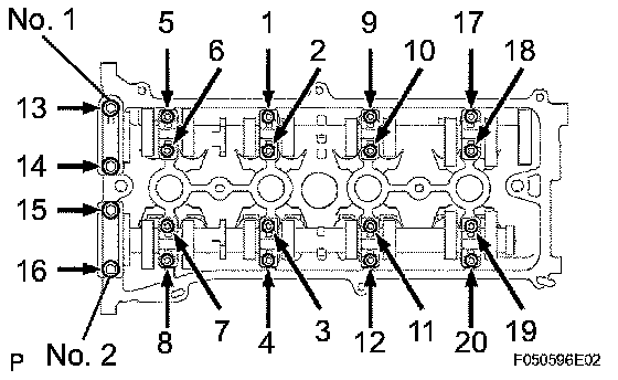
Camshaft Bearing Cap Bolts
No. 1 And No. 2 Bearing Cap 29.5 Nm (301 kgf-cm, 22 ft. lbs.)
No. 3 Bearing Cap 9.0 Nm (92 kgf-cm, 80 inch lbs.)

Camshaft Gear Bolts 54 Nm (551 kgf-cm, 40 ft. lbs.)





Exhaust Manifold Nuts 37 Nm (337 kgf-cm, 27 ft. lbs.)