Operation CHARM: Car repair manuals for everyone.
Manuals through 2025 now available!

Our trusted friends have launched a new website named LEMON, which has newer manuals. It also contains all the CHARM manuals.

LEMON is the spiritual successor to CHARM, I recommend you try it!

Link: lemon-manuals.la or lemon-manuals.org.ua

(Some people have issue connecting. LEMON is investigating. For now, use Firefox or change your DNS server)

Or, hide this message: temporarily or permanently

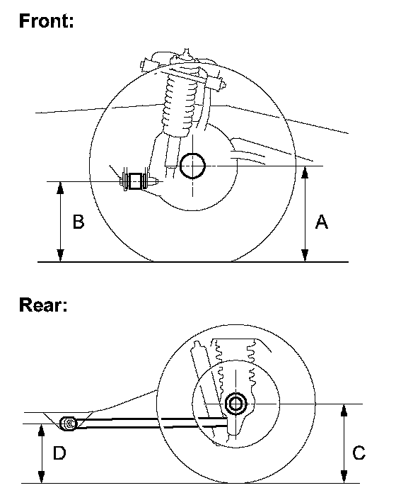
Alignment

FRONT WHEEL ALIGNMENT




Vehicle Height (Except Air suspension models):




Vehicle Height (Air suspension models):




VEHICLE HEIGHT


Camber:




Caster (Except air suspension models):




Caster (Air suspension models):




Steering Axis Inclination:




Steering Axis Inclination (Continued):




CAMBER, CASTER AND STEERING AXIS INCLINATION


Toe-in (total):




Toe-in (total) (continued):




TOE-IN