Operation CHARM: Car repair manuals for everyone.
Manuals through 2025 now available!

Our trusted friends have launched a new website named LEMON, which has newer manuals. It also contains all the CHARM manuals.

LEMON is the spiritual successor to CHARM, I recommend you try it!

Link: lemon-manuals.la or lemon-manuals.org.ua

(Some people have issue connecting. LEMON is investigating. For now, use Firefox or change your DNS server)

Or, hide this message: temporarily or permanently

Disassembly and Reassembly

DISASSEMBLY




1. REMOVE CENTER CLUSTER MODULE KNOB NO.1 (for Manual Air Conditioning System)
a. Remove the center cluster module knob No. 1.




2. REMOVE CENTER CLUSTER MODULE KNOB NO.2 (for Manual Air Conditioning System)
a. Release the 2 claws fittings and remove the center cluster module knob No. 2.

NOTE: Take care not to break the claws on the knob.

3. REMOVE AIR CONDITIONER AMPLIFIER ASSEMBLY (for Manual Air Conditioning System)




a. Remove the plate.




b. Release the lock of the connector and disconnect the cable.




c. Remove the 4 screws, and the heater control housing.




d. Remove the 4 screws, and the air conditioner amplifier assembly.

4. REMOVE AIR CONDITIONER AMPLIFIER ASSEMBLY (for Automatic Air Conditioning System)




a. Release the 8 claw fittings and remove the 4 screws and the heater control housing.




b. Disconnect the 2 connectors.




c. Remove the 5 screws and the air conditioner amplifier assembly.




5. REMOVE INTEGRATION CONTROL AND PANEL BULB (for Manual Air Conditioning System)
a. Remove the integration control & panel bulb.

6. REMOVE HEATER BLOWER SWITCH (for Manual Air Conditioning System)




a. Remove the 3 nuts, and the 3 washers.




b. Release the 6 claw fittings and remove the 5 screws and printed wire integration board sub-assembly.




c. Remove the screw and the heater blower switch.




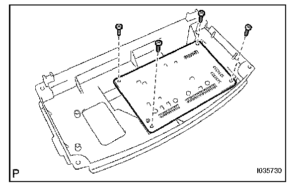
7. REMOVE PRINTED WIRE INTEGRATION BOARD SUB-ASSEMBLY (for Automatic Air Conditioning System)
a. Remove the 12 screws and the printed wire integration board sub-assembly.




8. REMOVE CLOCK ORNAMENT
a. Remove the clock ornament.

9. REMOVE CENTER CLUSTER MODULE KNOB NO.5 (for Automatic Air Conditioning System)
10. REMOVE CENTER CLUSTER MODULE KNOB NO.6 (for Automatic Air Conditioning System)

REASSEMBLY
1. INSTALL CENTER CLUSTER MODULE KNOB NO.6 (for Automatic Air Conditioning System)
2. INSTALL CENTER CLUSTER MODULE KNOB NO.5 (for Automatic Air Conditioning System)
3. INSTALL CLOCK ORNAMENT
4. INSTALL PRINTED WIRE INTEGRATION BOARD SUB-ASSEMBLY (for Automatic Air Conditioning System)
5. INSTALL HEATER BLOWER SWITCH (for Manual Air Conditioning System)
6. INSTALL INTEGRATION CONTROL AND PANEL BULB (for Manual Air Conditioning System)
7. INSTALL AIR CONDITIONER AMPLIFIER ASSEMBLY (for Automatic Air Conditioning System)
8. INSTALL AIR CONDITIONER AMPLIFIER ASSEMBLY (for Manual Air Conditioning System)
9. INSTALL CENTER CLUSTER MODULE KNOB NO.2 (for Manual Air Conditioning System)
10. INSTALL CENTER CLUSTER MODULE KNOB NO.1 (for Manual Air Conditioning System)