Operation CHARM: Car repair manuals for everyone.
Manuals through 2025 now available!

Our trusted friends have launched a new website named LEMON, which has newer manuals. It also contains all the CHARM manuals.

LEMON is the spiritual successor to CHARM, I recommend you try it!

Link: lemon-manuals.la or lemon-manuals.org.ua

(Some people have issue connecting. LEMON is investigating. For now, use Firefox or change your DNS server)

Or, hide this message: temporarily or permanently

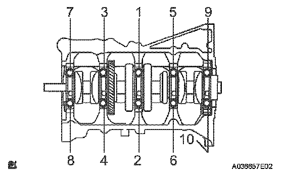
Main Bearing Cap

Main Bearing Cap





Uniformly install and tighten the 10 main bearing cap bolts in the sequence shown in the illustration.
Torque 20 Nm (204 kgf-cm, 15 ft. lbs.)





Mark the front of the bearing cap bolts with paint.
Retighten the bearing cap bolts by 90° in the numerical order shown in the illustration.
Check that the painted mark is now at a 90° angle to the front.
Check that the crankshaft turns smoothly.