Operation CHARM: Car repair manuals for everyone.
Manuals through 2025 now available!

Our trusted friends have launched a new website named LEMON, which has newer manuals. It also contains all the CHARM manuals.

LEMON is the spiritual successor to CHARM, I recommend you try it!

Link: lemon-manuals.la or lemon-manuals.org.ua

(Some people have issue connecting. LEMON is investigating. For now, use Firefox or change your DNS server)

Or, hide this message: temporarily or permanently

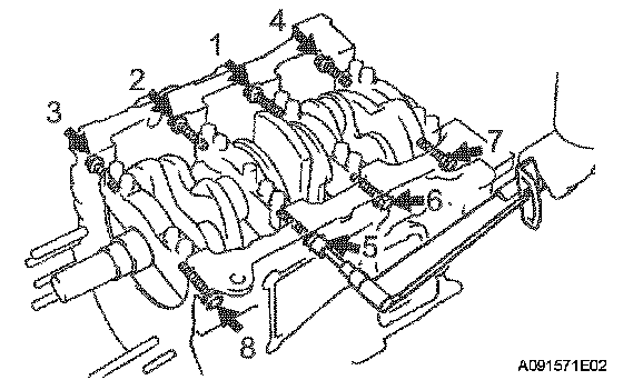
Main Bearing Cap

Main Bearing Cap





Mark the front side of the bearing cap bolts with paint.
Retighten the bearing cap bolts by 90° in the same sequence as step (h).
Check that each painted mark is now at a 90° angle to the front.
Check that the crankshaft turns smoothly.
Install a new seal washer to the main bearing cap bolt.





Uniformly install and tighten the 8 main bearing cap bolts in the sequence shown in the illustration.
Torque 27 Nm (275 kgf-cm, 20 ft. lbs.)

HINT: Use the short bolt for the marked position (arrow).