Operation CHARM: Car repair manuals for everyone.
Manuals through 2025 now available!

Our trusted friends have launched a new website named LEMON, which has newer manuals. It also contains all the CHARM manuals.

LEMON is the spiritual successor to CHARM, I recommend you try it!

Link: lemon-manuals.la or lemon-manuals.org.ua

(Some people have issue connecting. LEMON is investigating. For now, use Firefox or change your DNS server)

Or, hide this message: temporarily or permanently

Power Window Control System

INSPECTION (Convertible)

1. INSPECT POWER WINDOW REGULATOR MASTER SWITCH ASSEMBLY




a. Remove the master switch.













b. Measure the resistance of the switch when the switch is operated.







c. Check the master switch AUTO light.
If the result is not as specified, replace the master switch assembly.

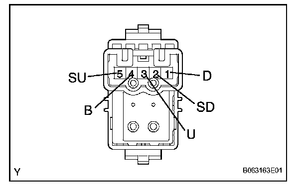
2. INSPECT POWER WINDOW REGULATOR SWITCH ASSEMBLY




a. Remove the power window regulator switch.




b. Measure the resistance of the switch when the switch is operated.
If the result is not as specified, replace the regulator switch assembly.

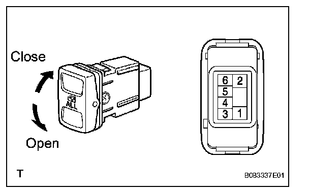
3. INSPECT ALL WINDOW SWITCH




a. Remove the all window switch.




b. Measure the resistance of the switch when the switch is operated.
If the result is not as specified, replace the switch.

4. INSPECT POWER WINDOW REGULATOR MOTOR ASSEMBLY




a. Check operation of the regulator motor LH/RH.







1. Remove the power window regulator motor LH/ RH.
2. Apply battery voltage to the motor terminals.

NOTE: Do not apply voltage to the terminals except 1 and 2.

3. Check that the motor operates smoothly.
If the result is not as specified, replace the motor assembly.




b. Check the PTC operation inside the regulator motor.

NOTE: The work must be performed with the power window regulator and door glass installed in the vehicle.

1. Remove the driver side power window regulator motor.
2. Connect the ammeter's positive (+) lead to terminal 2 of the wire harness side connector and the negative (-) lead to the battery's negative terminal.
3. Connect the battery's positive (+) lead to terminal 1 of the wire harness side connector, and raise the window to the fully closed position.
4. Continue to apply voltage, and check that the current changes to less than 1 A within 4 to 90 seconds.
5. Disconnect the leads from the terminals.
6. Approximately 60 seconds later, connect the battery's positive (+) lead to terminal 2 and the negative (-) lead to terminal 1, and check that the window begins to descend.
If the result is not as specified, replace the motor assembly.

5. INSPECT QUARTER WINDOW REGULATOR MOTOR ASSEMBLY




a. Check operation of the regulator motor LH/RH.







1. Remove the quarter power window regulator motor LH/RH.
2. Apply battery voltage to the motor terminals.

NOTE: Do not apply voltage to the terminals except 1 and 2.

3. Check that the motor operates smoothly.
If the result is not as specified, replace the motor assembly.




b. Check the PTC operation inside the regulator motor LH/RH.

NOTE: The work must be performed with the power window regulator and door glass installed in the vehicle.

1. Remove the driver side power window regulator motor.
2. Connect the ammeter's positive (+) lead to terminal 2 of the wire harness side connector and the negative (-) lead to the battery's negative terminal.
3. Connect the battery's positive (+) lead to terminal 1 of the wire harness side connector, and raise the window to the fully closed position.
4. Continue to apply voltage, and check that the current changes to less than 1 A within 4 to 90 seconds.
5. Disconnect the leads from the terminals.
6. Approximately 60 seconds later, connect the battery's positive (+) lead to terminal 2 and the negative (-) lead to terminal 1, and check that the window begins to descend.
If the result is not as specified, replace the motor assembly.

6. INSPECT RELAY (MARKING: IG1, PWR)




a. Remove the IG1 and PWR relays from the instrument panel J/B.




b. Measure the resistance of the relays.
If the result is not as specified, replace the relay.