Operation CHARM: Car repair manuals for everyone.
Manuals through 2025 now available!

Our trusted friends have launched a new website named LEMON, which has newer manuals. It also contains all the CHARM manuals.

LEMON is the spiritual successor to CHARM, I recommend you try it!

Link: lemon-manuals.la or lemon-manuals.org.ua

(Some people have issue connecting. LEMON is investigating. For now, use Firefox or change your DNS server)

Or, hide this message: temporarily or permanently

System Specifications

Cylinder Block
Maximum Warpage 0.05 mm (0.0020 inch)
Cylinder Bore Diameter
Standard 94.990 to 95.003 mm (3.7398 to 3.7403 inch)
Maximum Difference 0.2 mm (0.008 inch)
Cylinder Bore Honing
Maximum 0.02 mm (0.0008 inch)
Cylinder To Piston Clearance
Standard 0.019 to 0.052 mm (0.0007 to 0.0020 inch)

Crankshaft
Main Journal
Diameter
Except No. 3 59.987 to 60.000 mm (2.3619 to 2.3622 inch)
No. 3 59.981 to 59.994 mm (2.3615 to 2.3620 inch)
Maximum Taper & Out-of-Round 0.005 mm (0.0002 inch)
Maximum Circle Runout 0.03 mm (0.0012 inch)
Crank Pin
Diameter 52.989 to 53.002 mm (2.0862 to 2.0867 inch)
Maximum Taper & Out-of-Round 0.003 mm (0.0001 inch)
Thrust Clearance
Standard 0.020 to 0.220 mm (0.0008 to 0.0087 inch)
Maximum 0.30 mm (0.0118 inch)
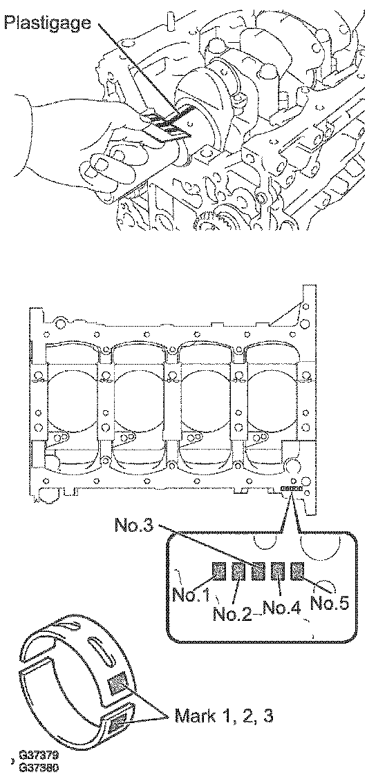
Main Bearing Oil Clearance
Standard
No. 3 Journal 0.030 to 0.055 mm (0.0012 to 0.0022 inch)
Others 0.024 to 0.049 mm (0.0009 to 0.0019 inch)
Maximum 0.10 mm (0.0039 inch)





Crankshaft Bearing Cap Bolt Inspection
Standard Diameter 10.76 to 10.97 mm (0.4236 to 0.4319 inch)
Minimum Diameter 10.66 mm (0.4197 inch)





Main Bearing Cap Bolts
First Pass 39 Nm (398 kgf-cm, 29 ft. lbs.)







Cylinder Block Main Journal Bore Diameter:




Standard Bearing Center Wall Thickness:





Main Bearing Size Codes

Connecting Rod
Maximum Bend 0.03 mm (0.0012 inch) per 100 mm (3.94 inch)
Maximum Twist 0.15 mm (0.0059 inch) per 100 mm (3.94 inch)
Thrust Clearance
Standard 0.150 to 0.350 mm (0.0059 to 0.0138 inch)
Maximum 0.40 mm (0.016 inch)
Clearance to Crank Pin
Standard 0.024 to 0.049 mm (0.0009 to 0.0019 inch)
Maximum 0.066 mm (0.0026 inch)





Connecting Rod Bolt Inspection
Standard Diameter 7.2 to 7.3 mm (0.283 to 0.287 inch)
Minimum Diameter 7.0 mm (0.276 inch)

Rod Bearing Cap Bolts
First Pass 25 Nm (255 kgf-cm, 18 ft. lbs.)
Final Pass 90°

Piston
Diameter
Standard 94.941 to 94.971 mm (3.7378 to 3.7390 inch)
Oil Clearance
Standard 0.019 to 0.052 mm (0.0007 to 0.0020 inch)
Pin Diameter 21.997 to 22.006 mm (0.8660 to 0.8664 inch)
Bushing Inside Diameter 22.005 to 22.014 mm (0.8663 to 0.8667 inch)
Pin To Bushing Oil Clearance
Standard 0.005 to 0.011 mm (0.0002 to 0.0004 inch)
Maximum 0.025 mm (0.0010 inch)
Ring Groove Clearance
No. 1 0.020 to 0.075 mm (0.0008 to 0.0030 inch)
No. 2 0.020 to 0.065 mm (0.0008 to 0.0026 inch)
Oil 0.020 to 0.070 mm (0.0008 to 0.0028 inch)
Ring End Gap
Standard
No. 1 0.22 to 0.34 mm (0.0087 to 0.0134 inch)
No. 2 0.45 to 0.57 mm (0.0177 to 0.0224 inch)
Oil 0.10 to 0.40 mm (0.0039 to 0.0157 inch)
Maximum
No. 1 0.90 mm (0.0354 inch)
No. 2 1.36 mm (0.0535 inch)
Oil 0.75 mm (0.0295 inch)

New Crankshaft Pulley Bolt
First Pass 260 Nm (2,651 kgf-cm, 192 ft. lbs.)