Operation CHARM: Car repair manuals for everyone.
Manuals through 2025 now available!

Our trusted friends have launched a new website named LEMON, which has newer manuals. It also contains all the CHARM manuals.

LEMON is the spiritual successor to CHARM, I recommend you try it!

Link: lemon-manuals.la or lemon-manuals.org.ua

(Some people have issue connecting. LEMON is investigating. For now, use Firefox or change your DNS server)

Or, hide this message: temporarily or permanently

System Specifications

Cylinder Block
Connecting rod thrust clearance
Standard 0.15 to 0.30 mm (0.0059 to 0.0118 in.)
Maximum 0.35 mm (0.0138 in.)
Connecting rod oil clearance
Standard 0.026 to 0.046 mm (0.0010 to 0.0018 in.)
Maximum 0.066 mm (0.0025 in.)
Crankshaft thrust clearance
Standard 0.04 to 0.24 mm (0.0016 to 0.0094 in.)
Maximum 0.30 mm (0.0118 in.)
Cylinder block warpage
Maximum 0.05 mm (0.0020 in.)
Cylinder bore diameter
Standard 94.000 to 94.012 mm (3.7008 to 3.7013 in.)
Maximum 94.132 mm (3.7060 in.)
Piston diameter 93.910 to 93.920 mm (3.6972 to 3.6976 in.)
Oil clearance
Standard 0.080 to 0.102 mm (0.0031 to 0.0040 in.)
Maximum 0.13 mm (0.0051 in.)
Connecting rod out-of-alignment
Maximum 0.05 mm (0.0020 in.) per 100 mm (3.94 in.)
Connecting rod twist
Maximum 0.15 mm (0.0059 in.) per 100 mm (3.94 in.)
Connecting rod bushing inside diameter 22.005 to 22.014 mm (0.8663 to 0.8667 in.)
Piston pin diameter 21.997 to 22.006 mm (0.8660 to 0.8664 in.)
Oil clearance
Standard 0.005 to 0.011 mm (0.0002 to 0.0004 in.)
Maximum 0.050 mm (0.0020 in.)
Piston ring groove clearance
No. 1 0.02 to 0.07 mm (0.0008 to 0.0028 in.)
No. 2 0.02 to 0.06 mm (0.0008 to 0.0024 in.)
Oil 0.07 to 0.15 mm (0.0028 to 0.0060 in.)
Piston ring end gap
Standard
No. 1 0.30 to 0.40 mm (0.0118 to 0.0157 in.)
No. 2 0.40 to 0.50 mm (0.0157 to 0.0197 in.)
Oil (Side rail) 0.10 to 0.40 mm (0.0039 to 0.0157 in.)
Maximum
No. 1 1.0 mm (0.039 in.)
No. 2 1.1 mm (0.043 in.)
Oil (Side rail) 1.0 mm (0.039 in.)
Connecting rod bolt diameter
Standard 7.2 to 7.3 mm (0.283 to 0.287 in.)
Minimum 7.0 mm (0.276 in.)
Crankshaft bearing cap set bolt diameter
Standard 10.0 to 10.2 mm (0.393 to 0.402 in.)
Crankshaft circle runout
Maximum 0.06 mm (0.0024 in.)
Main journal diameter 71.988 to 72.000 mm (2.8342 to 2.8346 in.)
Main journal taper and out-of-round
Maximum 0.02 mm (0.0008 in.)
Crank pin diameter 55.992 to 56.000 mm (2.2044 to 2.2047 in.)
Crank pin taper and out-of-round
Maximum 0.02 mm (0.0008 in.)
Crankshaft oil clearance
Standard 0.018 to 0.030 mm (0.0007 to 0.0012 in.)
Maximum 0.046 mm (0.0018 in.)
Engine mounting bracket front No. 1 RH x Cylinder block sub-assembly 43 Nm (435 kgf/cm, 31 ft. lbs.)
Engine mounting bracket front No. 1 LH x Cylinder block sub-assembly 43 Nm (435 kgf/cm, 31 ft. lbs.)
Engine wire No. 2 (ground cable) x Cylinder block sub-assembly 13 Nm (133 kgf/cm, 9 ft. lbs.)
Engine rear oil seal retainer x Cylinder block sub-assembly
Nut 9.0 Nm (92 kgf/cm, 80 in. lbs.)
Bolt 10 Nm (102 kgf/cm, 7 ft. lbs.)
Knock sensor x Cylinder block sub-assembly 20 Nm (204 kgf/cm, 15 ft. lbs.)
Water outlet pipe No. 1 x Cylinder block sub-assembly 10 Nm (102 kgf/cm, 7 ft. lbs.)
Chain vibration damper No. 1 x Cylinder block sub-assembly 19 Nm (194 kgf/cm, 14 ft. lbs.)
Idle gear No. 1 x Cylinder block sub-assembly 60 Nm (612 kgf/cm, 44 ft. lbs.)
Timing chain or belt cover sub-assembly x Cylinder head and block 23 Nm (235 kgf/cm, 17 ft. lbs.)
Crankshaft position sensor x Cylinder block sub-assembly 10 Nm (102 kgf/cm, 7 ft. lbs.)
Cylinder block water drain cock sub-assembly x Cylinder block sub-assembly 25 Nm (255 kgf/cm, 18 ft. lbs.)
V-ribbed belt tensioner assembly x Cylinder block sub-assembly 36 Nm (367 kgf/cm, 27 ft. lbs.)
Vane pump assembly x Cylinder block sub-assembly 43 Nm (438 kgf/cm, 32 ft. lbs.)
Stud bolt x Cylinder block sub-assembly
A 11 Nm (112 kgf/cm, 8.1 ft. lbs.)
B 4.5 Nm (46 kgf/cm, 40 in. lbs.)
C 4.0 Nm (41 kgf/cm, 35 in. lbs.)
Sub-assembly oil nozzle No. 1 x Cylinder block sub-assembly 9.0 Nm (92 kgf/cm, 80 in. lbs.)

Main Bearing Cap





Examine the front marks and numbers and install the bearing caps on the cylinder block.
Apply a light coat of engine oil to the threads of the bearing cap bolts.
Temporarily install the 8 main bearing cap bolts to the inside positions.





Install the main bearing caps. Tighten the 2 bolts for each bearing cap until the clearance between the bearing cap and the cylinder block becomes less than 6 mm (0.23 in.).





Using a plastic-faced hammer, lightly tap the bearing cap to ensure a proper fit.
Apply a light coat of engine oil to the threads of the main bearing cap bolts.





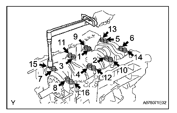
Install the 16 main bearing cap bolts. Using several steps, tighten the bolts uniformly in the sequence as shown in the illustration.
Torque 61 Nm (622 kgf/cm, 45 ft. lbs.)





Mark the front side of the bearing cap bolts with paint.
Retighten the bearing cap bolts 90° in the sequence as shown.
Check that the painted mark is now at a 90° angle to the front.
Check that the crankshaft turns smoothly.





Using several steps, tighten the 8 main bearing cap bolts uniformly in the sequence as shown in the illustration.
Torque 26 Nm (262 kgf/cm, 19 ft. lbs.)

Crankshaft Pulley
Torque 250 Nm (2,549 kgf/cm, 184 ft. lbs.)