Operation CHARM: Car repair manuals for everyone.
Manuals through 2025 now available!

Our trusted friends have launched a new website named LEMON, which has newer manuals. It also contains all the CHARM manuals.

LEMON is the spiritual successor to CHARM, I recommend you try it!

Link: lemon-manuals.la or lemon-manuals.org.ua

(Some people have issue connecting. LEMON is investigating. For now, use Firefox or change your DNS server)

Or, hide this message: temporarily or permanently

System Specifications

Cylinder Head
CYLINDER HEAD LH
Install the 8 cylinder head bolts.

HINT:
The cylinder head bolts are tightened in 2 successive steps (Procedures "A" and "B").
If any cylinder head bolt is broken or deformed, replace it.





Using several steps, tighten each bolt uniformly with a 10 mm bi-hexagon wrench in the sequence as shown in the illustration (Procedure "A").
Torque 36 Nm (367 kgf/cm, 27 ft. lbs.)
If any one of the cylinder head bolts does not meet the torque specification, replace the cylinder head bolt.





Mark the front side of each cylinder head bolt with paint.
Retighten the cylinder head bolts 180° as shown (Procedure "B").
Check that the painted marks are now at 180° opposite to the engine front.





Install the 2 cylinder head bolts.
Using several steps, install and tighten the 2 cylinder head bolts uniformly in the sequence as shown in the illustration.
Torque 30 Nm (306 kgf/cm, 22 ft. lbs.)

CYLINDER HEAD SUB-ASSEMBLY
Install the 8 cylinder head bolts.

HINT:
The cylinder head bolts are tightened in 2 successive steps (Procedures "A" and "B").
If any cylinder head bolt is broken or deformed, replace it.





Using several steps, tighten each bolt uniformly with a 10 mm bi-hexagon wrench in the sequence as shown in the illustration (Procedure "A").
Torque 36 Nm (367 kgf/cm, 27 ft. lbs.)
If any one of the cylinder head bolts does not meet the torque specification, replace the cylinder head bolt.

NOTICE: Do not drop the washers into the cylinder head.





Mark the front side of each cylinder head bolt with paint.
Retighten the cylinder head bolts 180° as shown (Procedure "B").
Check that the painted marks are now at 180° opposite to the engine front.





CYLINDER HEAD SET BOLT
Using vernier calipers, measure the outside thread diameter of the bolt.
Standard outside diameter 10.85 to 11.00 mm (0.4272 to 0.4331 in.)
Minimum outside diameter 10.7 mm (0.421 in.)





Inspect warpage.
Using a precision straight edge and feeler gauge, measure the warpage of the contact surfaces of the cylinder block and manifolds.
Maximum warpage 0.10 mm (0.0039 in.)
If warpage is greater than the maximum, replace the cylinder head.





Inspect cranks.
Using a dye penetrant, check the combustion chamber, intake ports, exhaust ports and cylinder block surface for cracks.
If cracked, replace the cylinder head.

Ring pin for cylinder head sub-assembly and cylinder head LH
Protrusion height 2.7 to 3.3 mm (0.106 to 0.130 in.)
Straight pin for cylinder head sub-assembly and cylinder head LH
Protrusion height
A 17.5 to 19.5 mm (0.689 to 0.768 in.)
B 7.5 to 8.5 mm (0.295 to 0.335 in.)
C 7.0 to 9.0 mm (0.276 to 0.354 in.)
Tight plug for cylinder head sub-assembly and cylinder head LH
Depth 1.5 mm (0.059 in.)
Engine hanger No. 1 x Cylinder head sub-assembly RH 33 Nm (336 kgf/cm, 24 ft. lbs.)
Engine hanger No. 2 x Cylinder head sub-assembly LH 33 Nm (336 24 ft. lbs.)
Spark plug x Cylinder head sub-assembly 20 Nm (204 kgf/cm, 15 ft. lbs.)
Oil filler cap housing x Cylinder head cover sub-assembly LH 9.0 Nm (92 kgf/cm, 80 in. lbs.)
Camshaft timing oil control valve assembly x Cylinder head cover sub-assembly 9.0 Nm (92 kgf/cm, 80 in. lbs.)
Timing chain or belt cover sub-assembly x Cylinder head and block 23 Nm (235 kgf/cm, 17 ft. lbs.)
Cylinder head cover sub-assembly x Cylinder head sub-assembly RH
Bolt A 10 Nm (102 kgf/cm, 7 ft. lbs.)
Bolt B 9.0 Nm (92 kgf/cm, 80 in. lbs.)
Nut 9.0 Nm (92 kgf/cm, 80 in. lbs.)
Cylinder head cover sub-assembly LH x Cylinder head sub-assembly LH
Bolt A 10 Nm (102 kgf/cm, 7 ft. lbs.)
Bolt B 9.0 Nm (92 kgf/cm, 80 in. lbs.
Nut 9.0 Nm (92 kgf/cm, 80 in. lbs.)
Ventilation valve x Cylinder head cover sub-assembly LH 27 Nm (275 kgf/cm, 20 ft. lbs.)
Oil control valve filter plug x Cylinder head sub-assembly 62 6Nm (32 kgf/cm, 46 ft. lbs.)
Oil level gauge guide x Cylinder head sub-assembly 9.0 Nm (92 kgf/cm, 80 in. lbs.)
Ground cable x Cylinder head sub-assembly 8.0 Nm (82 kgf/cm, 71 in. lbs.)
Water by-pass joint RR x Cylinder head sub-assembly 9.0 Nm (92 80 in. lbs.)
Intake manifold x Cylinder head sub-assembly 26 Nm (265 kgf/cm, 19 ft. lbs.)
Exhaust manifold sub-assembly RH x Cylinder head sub-assembly RH 30 Nm (306 kgf/cm, 22 ft. lbs.)
Exhaust manifold sub-assembly LH x Cylinder head sub-assembly LH 30 Nm (306 kgf/cm, 22 ft. lbs.)
Transmission oil filler tube sub-assembly x Cylinder head sub-assembly 2 Nm (122 kgf/cm, 9 ft. lbs.)
Stud bolt x Cylinder head sub-assembly and cylinder head LH
A 4.0 Nm (41 kgf/cm, 35 in. lbs.)
B 9.0 Nm (92 kgf/cm, 80 in. lbs.)
Union x Cylinder head sub-assembly and cylinder head LH 15 Nm (150 kgf/cm, 11 ft. lbs.)
With Head taper screw plug x Cylinder head sub-assembly and cylinder head LH 80 Nm (816 kgf/cm, 59 ft. lbs.)
Chain tensioner No. 1 x Cylinder head sub-assembly 10 Nm (102 kgf/cm, 7 ft. lbs.)
Chain tensioner No. 2 x Cylinder head sub-assembly 19 Nm (194 kgf/cm, 14 ft. lbs.)
Chain tensioner No. 3 x Cylinder head sub-assembly 19 Nm (194 kgf/cm, 14 ft. lbs.)

Camshaft Bearing Cap
CAMSHAFTS (for Bank 2)





Place the 2 camshafts onto the cylinder head with the cam lobes of No. 2 cylinder facing each correct direction as shown in the illustration.





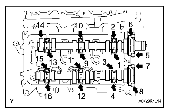
Install the 8 bearing caps in their proper locations.
Apply a light coat of engine oil to the threads and under the heads of the bearing cap bolts.





Using several steps, install and tighten the 16 bearing cap bolts uniformly in the sequence as shown in the illustration.
Torque:
For 10 mm (0.39 in.) head 9.0 Nm (92 kgf/cm, 80 in. lbs.)
For 12 mm (0.47 in.) head 24 Nm (245 kgf/cm, 18 ft. lbs.)

CAMSHAFTS (for Bank 1)





Place the 2 camshafts onto the cylinder head with the cam lobes of No. 1 cylinder facing each direction as shown in the illustration.





Install the 8 bearing caps in their proper locations.
Apply a light coat of engine oil to the threads and under the heads of the bearing cap bolts.





Using several steps, install and tighten the 16 bearing cap bolts uniformly in the sequence as shown in the illustration.
Torque:
For 10 mm (0.39 in.) head 9.0 Nm (92 kgf/cm, 80 in. lbs.)
For 12 mm (0.47 in.) head 24 Nm (245 kgf/cm, 18 ft. lbs.)





Turn the camshafts clockwise until the knock pin comes to 90° position to the cylinder head.

Camshaft Gear/Sprocket
CAMSHAFT TIMING GEARS AND NO. 2 CHAIN (for Bank 2)





Hold the hexagonal portion of the camshaft with a wrench, and tighten the 2 bolts.
Torque 100 Nm (1,020 kgf/cm, 74 ft. lbs.)

CAMSHAFT TIMING GEARS AND NO. 2 CHAIN (for Bank 1)





Hold the hexagonal portion of the camshaft with a wrench, and tighten the 2 bolts.
Torque 100 Nm (1,020 kgf/cm, 74 ft. lbs.)