Operation CHARM: Car repair manuals for everyone.
Manuals through 2025 now available!

Our trusted friends have launched a new website named LEMON, which has newer manuals. It also contains all the CHARM manuals.

LEMON is the spiritual successor to CHARM, I recommend you try it!

Link: lemon-manuals.la or lemon-manuals.org.ua

(Some people have issue connecting. LEMON is investigating. For now, use Firefox or change your DNS server)

Or, hide this message: temporarily or permanently

Ignition System: Testing and Inspection

ON-VEHICLE INSPECTION

NOTE: In this section, the terms "cold" and "hot" refer to the temperature of the coils. "Cold" means approximately - 10°C (14°F) to 50°C (122°F). "HOT" means approximately 50°C (122°F) to 100°C (212°F).

INSPECT IGNITION COIL ASSEMBLY

a. Check for DTCs.

NOTE: If any DTC is present, perform troubleshooting in accordance with the procedures for that DTC.

b. Check that sparks occur.
1. Remove the intake air surge tank
2. Remove the No. 1 surge tank stay




3. Disconnect the 6 ignition coil connectors and remove the 6 bolts and 6 ignition coils.




4. Using a 16 mm (0.63 in.) plug wrench, remove the 6 spark plugs.




5. Disconnect the 6 fuel injector connectors.
6. Install the spark plugs to each ignition coil, and connect the ignition coil connectors.




7. Ground the spark plugs.
8. Check if a spark occurs at each spark plug while the engine is being cranked.

NOTE:
- Be sure to ground the spark plugs when checking.
- Replace the ignition coil if it receives an impact.
- Do not crank the engine for more than 2 seconds.

c. Perform the spark test according to the flowchart.




1. Check that the ignition coil connector is securely connected.




2. Perform a speak test on each ignition coil.
1. Replace the ignition coil with a normal one.
2. Perform the spark test again.




3. Check the power supply to the ignition coil.
1. Turn the ignition switch on (IG).
2. Check that there is battery voltage at the ignition coil positive (+) terminal.




4. Check the VVT sensor output voltage.







5. Measure the resistance of the crankshaft position sensor.




6. Check the IGT signal from the ECM.

d. Using a 16 mm (0.63 in.) plug wrench, install the spark plugs.

Torque: 18 N.m (184 kgf.cm, 13 ft.lbf)

e. Install the 6 ignition coils with the 6 bolts and connect the 6 ignition coil connectors.

Torque: 7.5 N.m (76 kgf.cm, 66 in.lbf)




f. Connect the 6 fuel injector connectors.
g. Install the No. 1 surge tank stay.
h. Install the intake air surge tank.

INSPECT SPARK PLUG

NOTE:
- Never use a wire brush for cleaning.
- Never attempt to adjust the electrode gap on a used spark plug.

a. Check the electrode.




1. Using a megohmmeter, measure the insulation resistance.

Standard insulation resistance: 10 MOhms or higher

HINT: If the result is 10 MOhms or less, clean the plug and measure the resistance again.

If a megohmmeter is not available, perform the following simple inspection instead.

b. Alternative inspection method:
1. Quickly accelerate the engine to 4,000 rpm 5 times.
2. Remove the spark plugs.
3. Visually check the spark plug. If the electrode is dry, the spark plug is functioning properly.

If the electrode is damp, proceed to the next step.




c. Check the spark plug for any damage to its threads and insulator.

If there is damage, replace the spark plug.

NOTE: Use only the listed spark plug or equivalent to ensure engine performance and smooth driveability.




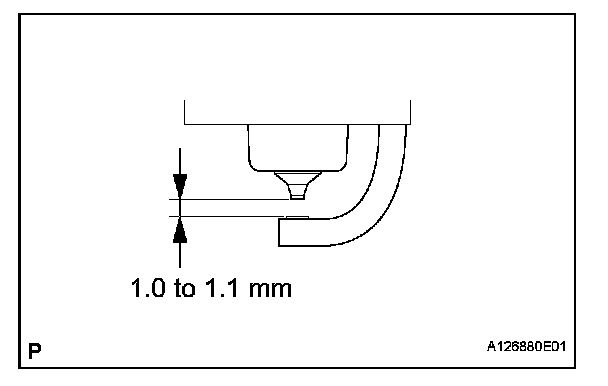
d. Check the spark plug electrode gap.

Maximum electrode gap for used spark plug: 1.4 mm (0.055 in.)

If the gap is greater than the maximum, replace the spark plug.

Electrode gap for new spark plug: 1.0 to 1.1 mm (0.039 to 0.043 in.)




e. Clean the spark plugs.
If the electrode has traces of wet carbon, clean the electrode with a spark plug cleaner and then dry it.

Standard air pressure: 588 kPa (6 kgf/sq.cm, 85 psi)

Standard duration: 20 seconds or less

HINT: Only use the spark plug cleaner when the electrode is free of oil. If the electrode has traces of oil, use gasoline to clean off the oil before using the spark plug cleaner.