Operation CHARM: Car repair manuals for everyone.
Manuals through 2025 now available!

Our trusted friends have launched a new website named LEMON, which has newer manuals. It also contains all the CHARM manuals.

LEMON is the spiritual successor to CHARM, I recommend you try it!

Link: lemon-manuals.la or lemon-manuals.org.ua

(Some people have issue connecting. LEMON is investigating. For now, use Firefox or change your DNS server)

Or, hide this message: temporarily or permanently

Basic Repair Hints

PRECAUTION

BASIC REPAIR HINT




a. HINTS ON OPERATIONS

b. JACKING UP AND SUPPORTING VEHICLE
1. Care must be taken when jacking up and supporting the vehicle. Be sure to lift and support the vehicle at the proper locations.




c. PRECOATED PARTS
1. Precoated parts are bolts and nuts that are coated with a seal lock adhesive at the factory.
2. If a precoated part is retightened, loosened or moved in any way, it must be recoated with the specified adhesive.
3. When reusing a precoated part, clean off the old adhesive and dry the part with compressed air. Then apply new seal lock adhesive appropriate to that part.
4. Some seal lock agents harden slowly. You may have to wait for the seal lock adhesive to harden.

d. GASKETS
1. When necessary, use a sealer on gaskets to prevent leaks.

e. BOLTS, NUTS AND SCREWS
1. Carefully follow all the specifications for tightening torques. Always use a torque wrench.




Part 1:




Part 2:




f. FUSES
1. When inspecting a fuse, check that the wire of the fuse is not broken.
2. When replacing fuses, be sure that the new fuse has the correct amperage rating. Do not exceed the rating or use one with a lower rating.

Part 1:




Part 2:




g. CLIPS
1. The removal and installation methods of typical clips used for vehicle body parts are shown in the table.

HINT: If clips are damaged during work, always replace the damaged clip with a new one.

Part 1:




Part 2:




h. CLAWS
1. The removal and installation methods of typical claws used for vehicle body parts are shown in the table.

HINT: If claws are damaged during a procedure, always replace the damaged claws with a new caps or covers.

i. REMOVAL AND INSTALLATION OF VACUUM HOSES




1. To disconnect a vacuum hose, pull and twist from the end of the hose. Do not pull from the middle of the hose as this may damage the hose.




2. When disconnecting vacuum hoses, use tags to identify where they should be reconnected.
3. After completing any hose related repairs, double check that the vacuum hoses are properly connected. The label under the hood shows the proper layout.
4. When using a vacuum gauge, never force the hose onto a connector that is too large. If a hose has been stretched, air may leak. Use a step-down adapter if necessary.

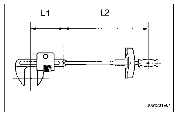
j. TORQUE WHEN USING TORQUE WRENCH WITH EXTENSION TOOL







1. Use the formula below to calculate special torque values for situations where SST or an extension tool is combined with the torque wrench.




Formula: T' = L2/(L1 + L2) * T

NOTE: If an extension tool or SST is combined with a torque wrench and the wrench is used to tighten to a torque specification, the actual torque will be excessive and parts will be damaged.