Operation CHARM: Car repair manuals for everyone.
Manuals through 2025 now available!

Our trusted friends have launched a new website named LEMON, which has newer manuals. It also contains all the CHARM manuals.

LEMON is the spiritual successor to CHARM, I recommend you try it!

Link: lemon-manuals.la or lemon-manuals.org.ua

(Some people have issue connecting. LEMON is investigating. For now, use Firefox or change your DNS server)

Or, hide this message: temporarily or permanently

Calibration

CALIBRATION

1. DESCRIPTION
a. After replacing the VSC relevant components or performing "Front wheel alignment adjustment", clearing and reading the sensor calibration data are necessary.




b. Follow the chart to perform calibration.

2. CLEAR ZERO POINT CALIBRATION (USING SST CHECK WIRE)

HINT: After replacing the yaw rate and acceleration sensor, make sure to clear zero point calibration data in the skid control ECU and perform zero point calibration.

a. Clear the zero point calibration using the SST check wire.

SST 09843-18040

1. Turn the ignition switch to the ON position.




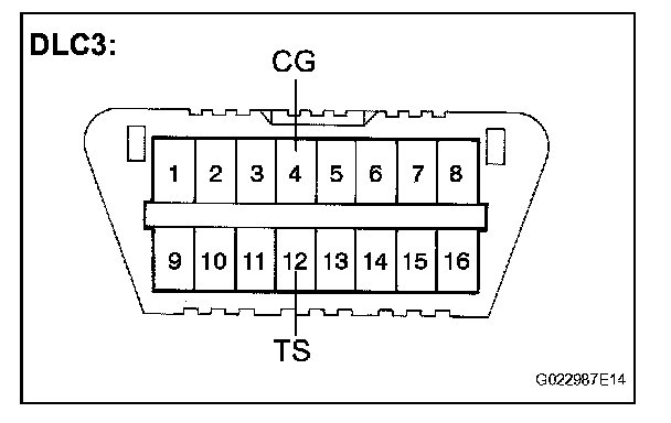
2. Using SST, connect and disconnect terminals TS and CG of the DLC3 4 times or more within 8 seconds.




3. Check that the warning light indicates the normal system code.
4. Remove the SST.

3. PERFORM ZERO POINT CALIBRATION OF YAW RATE AND ACCELERATION SENSOR (USING SST CHECK WIRE)

HINT: After replacing the ABS and TRACTION actuator assembly, make sure to perform yaw rate and acceleration sensor zero point calibration.

NOTE:
- While obtaining the zero point, do not vibrate the vehicle by tilting, moving or shaking it and keep it in a stationary condition. (Do not start the engine.)
- Be sure to perform this on a level surface (with an inclination of less than 1 degree).

a. Shift the shift lever to the P position.
b. Clear the zero point calibration.
c. Procedures for test mode:
1. Turn the ignition switch off.
2. Apply the parking brake (Parking brake switch ON).




3. Using SST, connect terminals TS and CG of the DLC3.

SST 09843-18040

4. Check that the steering wheel is in the straight ahead position and move the shift lever to the P position.
5. Turn the ignition switch to the ON position.

d. Keep the vehicle in the stationary condition on a level surface for 2 seconds or more.
e. Check that the VSC warning light blinks.

HINT:
- If the VSC warning light does not blink, perform the zero point calibration again.
- The zero point calibration is performed only once after the system enters the test mode.
- Calibration cannot be performed again until the stored data is cleared once.

4. CLEAR ZERO POINT CALIBRATION (USING INTELLIGENT TESTER)

HINT: After replacing the yaw rate and acceleration sensor, make sure to clear zero point calibration data in the skid control ECU and perform zero point calibration.




a. Clearing the DTCs.
1. Connect the intelligent tester to the DLC3.
2. Turn the ignition switch to the ON position.
3. Operate the intelligent tester to erase the codes.

HINT: Refer to the intelligent tester operator's manual for further details.

5. PERFORM ZERO POINT CALIBRATION OF YAW RATE AND ACCELERATION SENSOR (USING INTELLIGENT TESTER)

NOTE:
- While obtaining the zero point, do not vibrate the vehicle by tilting, moving or shaking it and keep it in a stationary condition. (Do not start the engine.)
- Be sure to do this on a level surface (with an inclination of less than 1 degree)

a. Check that the steering wheel is in the straight ahead position and move the shift lever to the P position.




b. Connect the intelligent tester to the DLC3.
c. Turn the ignition switch to the ON position.
d. Operate the intelligent tester to test mode (TEST MODE).
e. Obtain the zero point of the yaw rate and acceleration sensor:
1. Keep the vehicle in the stationary condition on a level surface for 2 seconds or more.
2. Check that the VSC warning light blinks.

HINT:
- If the VSC warning light does not blink, perform the zero point calibration again.
- The zero point calibration is performed only once after the system enters the test mode.
- Calibration cannot be performed again until the stored data is cleared once.

f. Turn the ignition switch off.