Operation CHARM: Car repair manuals for everyone.
Manuals through 2025 now available!

Our trusted friends have launched a new website named LEMON, which has newer manuals. It also contains all the CHARM manuals.

LEMON is the spiritual successor to CHARM, I recommend you try it!

Link: lemon-manuals.la or lemon-manuals.org.ua

(Some people have issue connecting. LEMON is investigating. For now, use Firefox or change your DNS server)

Or, hide this message: temporarily or permanently

Front Wheel Alignment

NOTICE: For Zero Point Calibration information, please refer to: TSB T-SB-0020-8 (3/25/08).

FRONT WHEEL ALIGNMENT

ADJUSTMENT
1. INSPECT TIRES





2. MEASURE VEHICLE HEIGHT
(a) Bounce the vehicle at the corners up and down to stabilize the suspension and inspect vehicle height.

Vehicle Height For USA, Canada:




Vehicle Height For Mexico:





Measuring points:
A: Ground clearance of front wheel center
B: Ground clearance of lower suspension arm No. 1 bush front bolt center
C: Ground clearance of axle beam set bolt center
D: Ground clearance of rear wheel center

NOTICE: Before inspecting the wheel alignment, adjust the vehicle height to the specified value.

HINT: Bounce the vehicle at the corners up and down to stabilize the suspension and inspect the vehicle height.





3. INSPECT TOE-IN
(a) Measure the distance between the tread center marks on the front side of the wheels.

Toe-in:





HINT:
^ Measure "C - D" only when "A + B" can not be measured.
^ If the toe-in is not within the specified value, adjust it at the rack ends.

4. ADJUST TOE-IN
(a) Measure the thread lengths of the right and left rack ends.
Standard: Difference in thread length of 1.5 mm or less
(b) Remove the rack boot set clips.





(c) Loosen the tie rod end lock nuts.
(d) Adjust the rack ends if the difference in thread length between the right and left rack ends is not within the specified range.
(1) Extend the shorter rack end if the measured toe-in deviates toward the outer-side.
(2) Shorten the longer rack end if the measured toe-in deviates toward the inner-side.
(e) Turn the right and left rack ends by an equal amount to adjust toe-in.

HINT: Try to adjust toe-in to the center of the specified range.

(f) Make sure that the lengths of the right and left rack ends are the same.
Standard: 0 ± 1 mm
(g) Torque the tie rod end lock nuts.
Torque: 74 Nm (749 kgf-cm, 54 ft. lbs.)

NOTICE: Temporarily tighten the lock nut while holding the hexagonal part of the steering rack end so that the lock nut and the steering rack end do not turn together. Hold the width across flat of the tie rod end and tighten the lock nut.

(h) Place the boots on the seats and install the clips.

HINT: Make sure that the boots are not twisted.

(i) Perform VSC system calibration.





5. INSPECT WHEEL ANGLE
(a) Turn the steering wheel fully left and right and measure the turning angle.

Wheel Turning Angle For USA, Canada:




Wheel Turning Angle For Mexico:





If the right and left inside wheel angles differ from the specified range, check the lengths of the right and left rack ends.





6. INSPECT CAMBER, CASTER AND STEERING AXIS INCLINATION
(a) Place a front wheel on the center of the turning radius gauge.
(b) Remove the center ornament.
(c) Install the camber-caster-kingpin gauge at the center of the axle hub or drive shaft.
(d) Inspect the camber, caster, and steering axis inclination.

Camber, Caster, And Steering Axis Inclination For USA, Canada:




Camber, Caster, And Steering Axis Inclination For Mexico:





NOTICE:
^ Inspect while the vehicle is empty.
^ The maximum tolerance of right and left difference for the camber and caster is 45' (0.75°) or less.

(e) Remove the camber-caster-kingpin gauge.
(f) Install the center ornament.
If the caster and steering axis inclination are not within the specified values after the camber has been correctly adjusted, recheck the suspension parts for damaged and/or worn out parts.

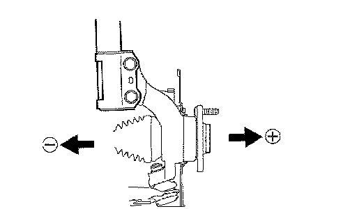
7. ADJUST CAMBER

NOTICE: Inspect toe-in after the camber has been adjusted.





(a) Remove the front wheel.
(b) Remove the 2 nuts on the lower side of the shock absorber.
(c) Clean the installation surface of the shock absorber and the steering knuckle.
(d) Temporarily install the 2 nuts.





(e) Fully push or pull the front axle hub in the direction of the required adjustment.
(f) Tighten the nuts.
Torque: 153 Nm (1,560 kgf-cm, 113 ft. lbs.)

NOTICE: Keep the bolts from rotating and torque the nuts.

(g) Install the front wheel.
Torque: 103 Nm (1,050 kgf-cm, 76 ft. lbs.)
(h) Check the camber.
If the measured value is not within the specified range, calculate the required adjustment amount using the formula below.
(Camber adjustment amount) = Center of the specified range - Measured value





(i) Check installed bolts combination. Select appropriate bolts from the table to adjust the camber to within the specified range.





(j) Check the table (1) (Move the axle toward positive side) below.








(k) The body and suspension may be damaged if the camber is not correctly adjusted according to the above table.

NOTICE: Replace the nut with a new one when replacing the bolt.

(l) Repeat the steps mentioned above. Replace 1 or 2 selected bolts.

HINT: Replace one bolt at a time when replacing 2 bolts.

(m) Check the table (2) (Move the axle toward negative side) below.








(n) The body and suspension may be damaged if the camber is not correctly adjusted according to the above table.

NOTICE: Replace the nut with a new one when replacing the bolt.

(o) Repeat the steps mentioned above. Replace 1 or 2 selected bolts.

HINT: Replace one bolt at a time when replacing 2 bolts.