Operation CHARM: Car repair manuals for everyone.
Manuals through 2025 now available!

Our trusted friends have launched a new website named LEMON, which has newer manuals. It also contains all the CHARM manuals.

LEMON is the spiritual successor to CHARM, I recommend you try it!

Link: lemon-manuals.la or lemon-manuals.org.ua

(Some people have issue connecting. LEMON is investigating. For now, use Firefox or change your DNS server)

Or, hide this message: temporarily or permanently

Engine Control System - SFI System

REGISTRATION

NOTE: The Vehicle Identification Number (VIN) must be input into the replaced ECM.

HINT: The VIN is a 17-digit alphanumeric vehicle identification number. An intelligent tester is required to register the VIN.

1. INPUT INSTRUCTIONS
a. Explains the general VIN input instructions using the intelligent tester.
b. Intelligent tester
1. The arrow buttons (UP, DOWN, RIGHT and LEFT) and numerical buttons (0 to 9) are used to input the VIN.

c. Cursor Operation
1. To move the cursor around the tester screen, press the RIGHT and LEFT buttons.

d. Alphabetical Character Input
1. Press the UP and DOWN buttons to select the desired alphabetical character.
2. After selection, the cursor should move.

e. Numeric Character Input
1. Press the numerical button corresponding to the number that you want to input.
2. After input, the cursor should move.

HINT: Numerical characters can be selected by using the UP and DOWN buttons.

f. Correction
1. When correcting the input character(s), put the cursor onto the character using the RIGHT or LEFT button.
2. Select or input the correct character using the UP/DOWN buttons, or the numerical buttons.

g. Finishing Input Operation
1. Make sure that the input VIN matches the vehicle VIN after input.
2. Press the ENTER button on the tester.

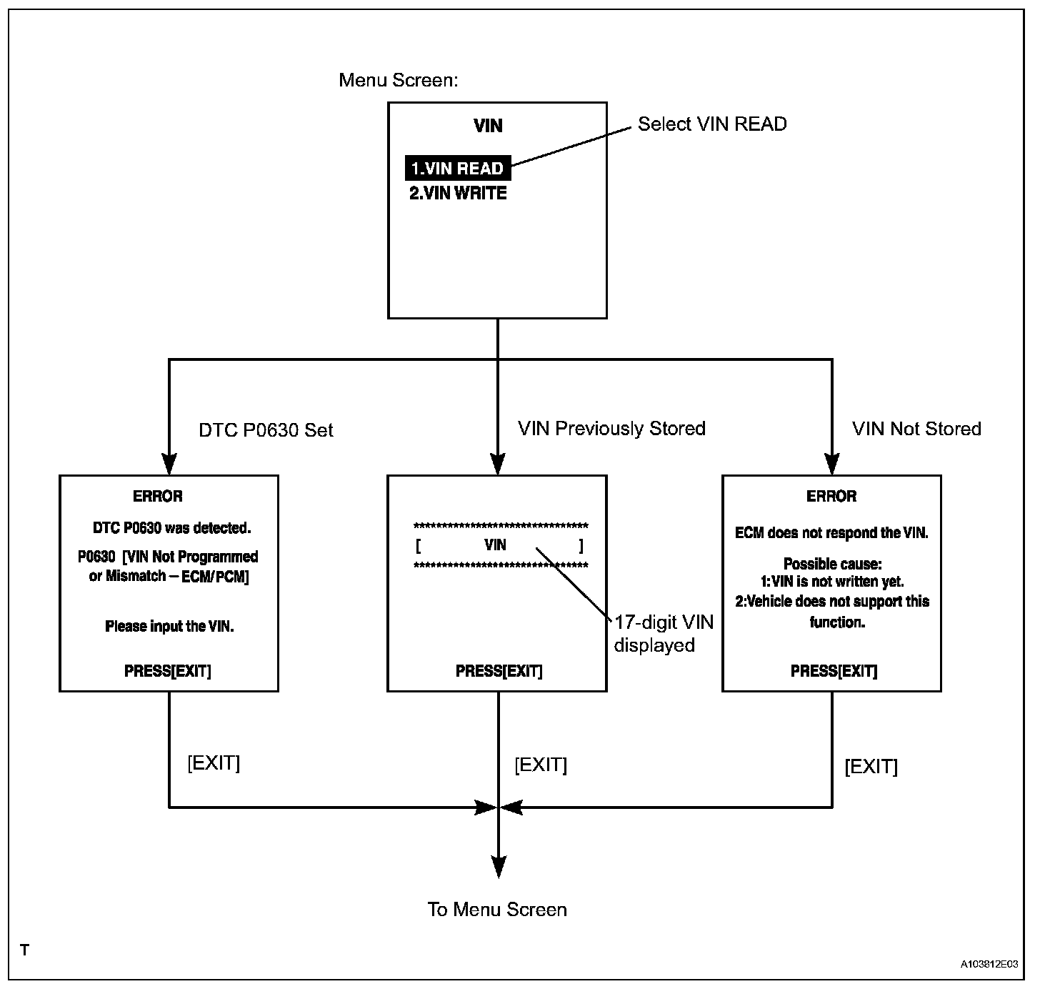
2. READ VIN
a. Explains the VIN reading process in a flowchart. Reading the VIN stored in the ECM is necessary when comparing it to the VIN provided with the vehicle.
b. Read the VIN using the intelligent tester.
c. Check the vehicle's VIN.
d. Connect the intelligent tester to the DLC3.
e. Turn the ignition switch to ON.
f. Turn the tester ON.




g. Enter the following menus: DIAGNOSIS / ENHANCED OBD II / VIN.

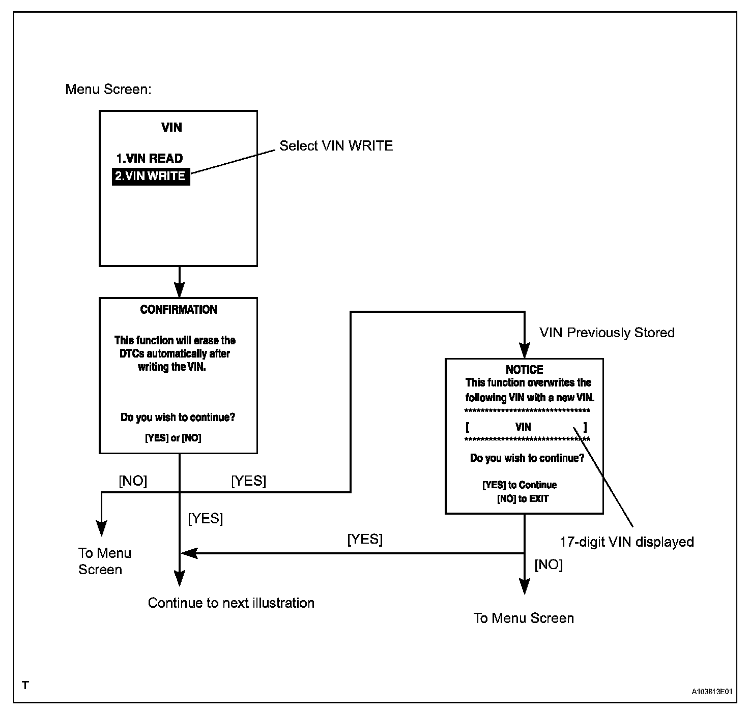
3. WRITE VIN
a. Explains the VIN writing process in a flowchart. This process allows the VIN to be input into the ECM. If the ECM is changed, or the ECM VIN and Vehicle VIN do not match, the VIN can be registered, or overwritten in the ECM by following this procedure.
b. Write VIN using the intelligent tester.
c. Connect the intelligent tester to the DLC3.
d. Turn the ignition switch to ON.
e. Turn the tester ON.










f. Enter the following menus: DIAGNOSIS / ENHANCED OBD II / VIN.