Operation CHARM: Car repair manuals for everyone.
Manuals through 2025 now available!

Our trusted friends have launched a new website named LEMON, which has newer manuals. It also contains all the CHARM manuals.

LEMON is the spiritual successor to CHARM, I recommend you try it!

Link: lemon-manuals.la or lemon-manuals.org.ua

(Some people have issue connecting. LEMON is investigating. For now, use Firefox or change your DNS server)

Or, hide this message: temporarily or permanently

Front

Alignment
FRONT WHEEL ALIGNMENT
VEHICLE HEIGHT




Vehicle Height For USA, Canada:




Vehicle Height For Mexico:





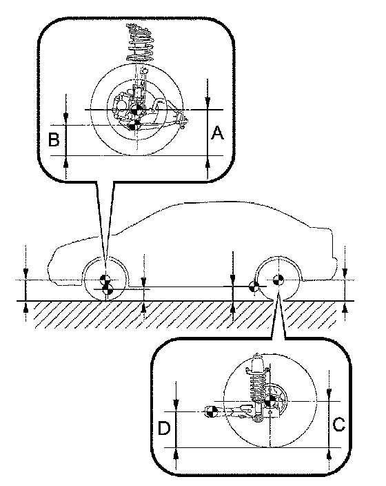
Measuring points:
A: Ground clearance of front wheel center
B: Ground clearance of lower suspension arm No. 1 bush front bolt center
C: Ground clearance of axle beam set bolt center
D: Ground clearance of rear wheel center

TOE-IN




Toe-in:





HINT:
^ Measure "C - D" only when "A + B" can not be measured.
^ If the toe-in is not within the specified value, adjust it at the rack ends.




Wheel Turning Angle For USA, Canada:




Wheel Turning Angle For Mexico:





WHEEL ANGLE

CAMBER, CASTER AND STEERING AXIS INCLINATION




Camber, Caster, And Steering Axis Inclination For USA, Canada:




Camber, Caster, And Steering Axis Inclination For Mexico:





NOTICE:
^ Inspect while the vehicle is empty.
^ The maximum tolerance of right and left difference for the camber and caster is 45' (0.75°) or less.