Operation CHARM: Car repair manuals for everyone.
Manuals through 2025 now available!

Our trusted friends have launched a new website named LEMON, which has newer manuals. It also contains all the CHARM manuals.

LEMON is the spiritual successor to CHARM, I recommend you try it!

Link: lemon-manuals.la or lemon-manuals.org.ua

(Some people have issue connecting. LEMON is investigating. For now, use Firefox or change your DNS server)

Or, hide this message: temporarily or permanently

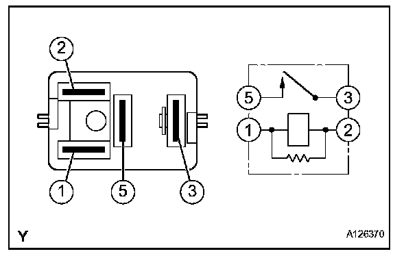
Circuit Opening Relay

ON-VEHICLE INSPECTION

1. DISCONNECT CABLE FROM NEGATIVE BATTERY TERMINAL
2. REMOVE CIRCUIT OPENING RELAY




a. Remove the relay block cover upper.
b. Remove the circuit opening relay.

3. INSPECT CIRCUIT OPENING RELAY




a. Check the resistance.




1. Using an ohmmeter, measure the resistance between the terminals.

If the result is not as specified, replace the circuit opening relay.

4. INSTALL CIRCUIT OPENING RELAY

a. Install the circuit opening relay.
b. Install the relay block cover upper.

5. CONNECT CABLE TO NEGATIVE BATTERY TERMINAL

Torque: 3.9 N.m (40 kgf.cm, 35 in.lbf)