EFI Relay
ON-VEHICLE INSPECTION1. DISCONNECT CABLE FROM NEGATIVE BATTERY TERMINAL
2. REMOVE EFI RELAY
a. Remove the relay block cover upper.
b. Remove the EFI relay.
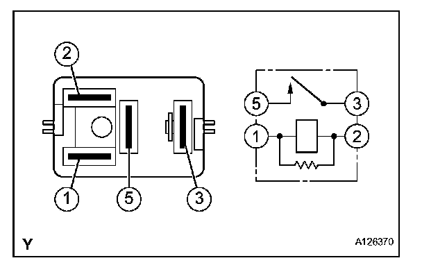
3. INSPECT EFI RELAY
a. Check the resistance.
1. Using an ohmmeter, measure the resistance between the terminals.
If the result is not as specified, replace the EFI relay.
4. INSTALL EFI RELAY
a. Install the EFI relay.
b. Install the relay block cover upper.
5. CONNECT CABLE TO NEGATIVE BATTERY TERMINAL
Torque: 3.9 N.m (40 kgf.cm, 35 in.lbf)