Operation CHARM: Car repair manuals for everyone.
Manuals through 2025 now available!

Our trusted friends have launched a new website named LEMON, which has newer manuals. It also contains all the CHARM manuals.

LEMON is the spiritual successor to CHARM, I recommend you try it!

Link: lemon-manuals.la or lemon-manuals.org.ua

(Some people have issue connecting. LEMON is investigating. For now, use Firefox or change your DNS server)

Or, hide this message: temporarily or permanently

Spark Plug: Testing and Inspection

ON-VEHICLE INSPECTION

CHECK SPARK PLUG

a. Check the electrode.




1. Using a megohmmeter, measure the insulation resistance.

Standard insulation resistance: 10 Mohms or more

HINT:
- If a megohmmeter is not available, perform the following simple inspection instead.
- If the result is 10 Mohms or less, clean the plug and measure the resistance again.

b. Alternative inspection method:




1. Quickly accelerate the engine to 4,000 rpm 5 times.
2. Remove the spark plug.
3. Visually check the spark plug.

If the electrode is dry, the spark plug is functioning properly. If the electrode is damp, proceed to the next step.







c. Check the spark plug for any damage on its threads and insulator.

If there is damage, replace the spark plug. Recommended spark plug

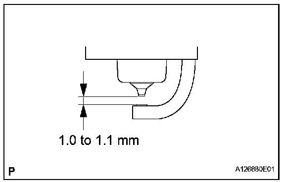
d. Check the spark plug electrode gap.

Maximum electrode gap for used spark plug: 1.3 mm (0.051 in.)

If the gap is greater than the maximum, replace the spark plug.

Electrode gap for new spark plug: 1.0 to 1.1 mm (0.039 to 0.043 in.)




e. Clean the spark plugs.
If the electrode has traces of wet carbon, clean the electrode with a spark plug cleaner and then dry it.

Standard air pressure: 588 kPa (6 kgf/sq.cm, 85 psi)

Standard duration: 20 seconds or less

HINT: Only use the spark plug cleaner when the electrode is free of oil. If the electrode has traces of oil, use gasoline to clean off the oil before using the spark plug cleaner.