Operation CHARM: Car repair manuals for everyone.
Manuals through 2025 now available!

Our trusted friends have launched a new website named LEMON, which has newer manuals. It also contains all the CHARM manuals.

LEMON is the spiritual successor to CHARM, I recommend you try it!

Link: lemon-manuals.la or lemon-manuals.org.ua

(Some people have issue connecting. LEMON is investigating. For now, use Firefox or change your DNS server)

Or, hide this message: temporarily or permanently

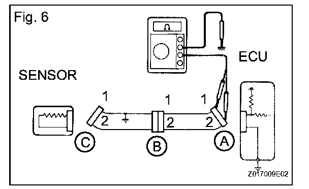
Check For Short Circuit

CHECK FOR SHORT CIRCUIT




a. If the wire harness is ground shorted (Fig. 5), locate the section by conducting a resistance check with the body ground.

b. Check the resistance with the body ground.







1. Disconnect connectors A and C and measure the resistance.

HINT: Measure the resistance while lightly shaking the wire harness vertically and horizontally. If your results match the examples, an open circuit exists between terminal 1 of connector A and terminal 1 of connector C.







2. Disconnect connector B and measure the resistance.

If the results match the examples, a short circuit exists between terminal 1 of connector B2 and terminal 1 of connector C.