Operation CHARM: Car repair manuals for everyone.
Manuals through 2025 now available!

Our trusted friends have launched a new website named LEMON, which has newer manuals. It also contains all the CHARM manuals.

LEMON is the spiritual successor to CHARM, I recommend you try it!

Link: lemon-manuals.la or lemon-manuals.org.ua

(Some people have issue connecting. LEMON is investigating. For now, use Firefox or change your DNS server)

Or, hide this message: temporarily or permanently

Transmission Position Sensor/Switch: Service and Repair

PARK / NEUTRAL POSITION SWITCH

COMPONENTS:





ON-VEHICLE INSPECTION
1. INSPECT PARK/NEUTRAL POSITION SWITCH ASSEMBLY
(a) Apply the parking brake and turn the ignition switch ON.
(b) Depress the brake pedal and check that the engine starts when the shift lever is on N or P, but does not start in other positions.
(c) Check that the back-up light illuminates and the reverse warning buzzer sounds when the shift lever is on R, but do not function in other positions.

REMOVAL
1. DISCONNECT CABLE FROM NEGATIVE BATTERY TERMINAL

NOTICE: Some systems need to be initialized after the cable is reconnected.





2. DISCONNECT TRANSMISSION CONTROL CABLE ASSEMBLY
(a) Remove the nut and disconnect the cable.

3. REMOVE PARK/NEUTRAL POSITION SWITCH ASSEMBLY
(a) Disconnect the switch connector.





(b) Remove the nut, spring washer and transmission control shaft lever RH.





(c) Using a screwdriver, bend the tabs of the lock washer.





(d) Remove the lock nut and lock washer.





(e) Remove the bolt and switch.

INSPECTION

Component without harness connected: (Park/neutral Position Switch):





1. INSPECT PARK/NEUTRAL POSITION SWITCH ASSEMBLY
(a) Measure the resistance according to the value(s) in the table below.

Standard resistance:





If the result is not as specified, replace the switch assembly.

ADJUSTMENT





1. ADJUST PARK/NEUTRAL POSITION SWITCH ASSEMBLY
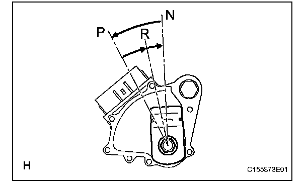
(a) Loosen the bolt of the park/neutral position switch and move the shift lever to the N position.
(b) Align the groove with the neutral basic line.
(c) Hold the switch in the position described above and tighten the bolt.
Torque: 13 Nm (13 kgf-cm, 10 ft. lbs.)
(d) After the adjustment, perform the on-vehicle inspection.

INSTALLATION
1. INSTALL PARK/NEUTRAL POSITION SWITCH ASSEMBLY
(a) Install the switch to the manual valve shaft.





(b) Temporarily install the bolt.





(c) Install a new lock washer with the nut.
Torque: 6.9 Nm (70 kgf-cm, 61 inch lbs.)





(d) Temporarily install the control shaft lever RH.





(e) Turn the control shaft lever RH counterclockwise until it stops, and then turn it clockwise 2 notches to set it to the N position.
(f) Remove the control shaft lever RH.





(g) Align the groove with the neutral basic line.
(h) Hold the switch in the position described above and tighten the bolt.
Torque: 13 Nm (133 kgf-cm, 10 ft. lbs.)





(i) Using a screwdriver, bend the tabs of the lock washer.





(j) Install the transmission control shaft lever RH with the spring washer and nut.
Torque: 16 Nm (163 kgf-cm, 12 ft. lbs.)
(k) Connect the switch connector.





2. CONNECT TRANSMISSION CONTROL CABLE ASSEMBLY
(a) Connect the cable with the nut.
Torque: 14 Nm (143 kgf-cm, 10 ft. lbs.)

NOTICE: When connecting the cable to the transmission control shaft lever, make sure the cable's L bracket faces the outside of the vehicle.

3. CONNECT CABLE TO NEGATIVE BATTERY TERMINAL

NOTICE: Some systems need to be initialized after the cable is reconnected.

4. ADJUST SHIFT LEVER POSITION
(a) Adjust the shift lever position.

5. INSPECT PARK/NEUTRAL POSITION SWITCH ASSEMBLY
(a) Inspect the switch.