Operation CHARM: Car repair manuals for everyone.
Manuals through 2025 now available!

Our trusted friends have launched a new website named LEMON, which has newer manuals. It also contains all the CHARM manuals.

LEMON is the spiritual successor to CHARM, I recommend you try it!

Link: lemon-manuals.la or lemon-manuals.org.ua

(Some people have issue connecting. LEMON is investigating. For now, use Firefox or change your DNS server)

Or, hide this message: temporarily or permanently

System Specifications

CYLINDER HEAD LH





Torque: 36 Nm (367 kgf-cm, 27 ft-lbf)





Retighten the cylinder head bolts 180° as shown (Procedure "B").
Check that the painted marks are now at 180° opposite to the engine front.





Torque: 30 Nm (306 kgf-cm, 22 ft-lbf)

CYLINDER HEAD SUB ASSEMBLY





Torque: 36 Nm (367 kgf-cm, 27 ft-lbf)





Retighten the cylinder head bolts 180° as shown (Procedure "B").
Check that the painted marks are now at 180° opposite to the engine

BOLT RE-USABILITY
Standard outside diameter: 10.85 to 11.00 mm (0.4272 to 0.4331 in.)
Minimum outside diameter: 10.7 mm (0.421 in.)

CYLINDER HEAD SUB-ASSEMBLY
Maximum warpage: 0.10 mm (0.0039 in.)

INTAKE MANIFOLD





Torque: 26 Nm (265 kgf-cm, 19 ft-lbf)

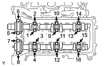
CAMSHAFTS (for Bank 1)





Install the 8 bearing caps in their proper locations.
Apply a light coat of engine oil to the threads and under the heads of the bearing cap bolts





For 10 mm (0.39 in.) head - Torque: 9.0 Nm (92 kgf-cm, 80 in-lbf)
For 12 mm (0.47 in.) head - Torque: 24 Nm (245 kgf-cm, 18 ft-lbf)

CAMSHAFTS (for Bank 2)





Install the 8 bearing caps in their proper locations.
Apply a light coat of engine oil to the threads and under the heads of the bearing cap bolts.




For 10 mm (0.39 in.) head - Torque: 9.0 Nm (92 kgf-cm, 80 in-lbf)
For 12 mm (0.47 in.) head - Torque: 24 Nm (245 kgf-cm, 18 ft-lbf)

EXHAUST MANIFOLD SUB-ASSEMBLY LH





Torque: 30 Nm (306 kgf-cm, 22 ft-lbf)

EXHAUST MANIFOLD SUB-ASSEMBLY RH





Torque: 30 Nm (306 kgf-cm, 22 ft-lbf)

CAMSHAFT PULLEY/GEAR TORQUE
Torque: 100 Nm (1,020 kgf-cm, 74 ft-lbf)