Operation CHARM: Car repair manuals for everyone.
Manuals through 2025 now available!

Our trusted friends have launched a new website named LEMON, which has newer manuals. It also contains all the CHARM manuals.

LEMON is the spiritual successor to CHARM, I recommend you try it!

Link: lemon-manuals.la or lemon-manuals.org.ua

(Some people have issue connecting. LEMON is investigating. For now, use Firefox or change your DNS server)

Or, hide this message: temporarily or permanently

Reassembly









2GR-FE CHARGING: GENERATOR: REASSEMBLY

REASSEMBLY

1. INSTALL GENERATOR DRIVE END FRAME BEARING






(a) Using SST and a press, press in a new generator drive end frame bearing.
SST: 09950-60010
09951-00470
SST: 09950-70010
09951-07100






(b) Install the bearing retainer with the 4 screws.
Torque: 2.3 Nm (23 kgf-cm, 20 in-lbf)
2. INSTALL GENERATOR ROTOR ASSEMBLY
(a) Install the generator rotor assembly and generator washer to the drive end frame.
3. INSTALL GENERATOR COIL ASSEMBLY






(a) Using deep socket wrench (21 mm) and a press, slowly press in the generator coil assembly.






(b) Install the 4 bolts.
Torque: 5.8 Nm (59 kgf-cm, 51 in-lbf)
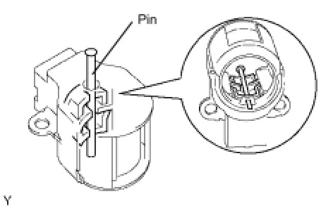
4. INSTALL GENERATOR BRUSH HOLDER ASSEMBLY






(a) While pushing the 2 brushes to the inside of the generator brush holder assembly, insert a dia1.0 mm (0.039 in.) pin into the generator brush holder hole.






(b) Install the brush holder assembly with the 2 screws.
Torque: 1.8 Nm (18 kgf-cm, 16 in-lbf)
(c) Remove the pin from the brush holder assembly.
5. INSTALL TERMINAL INSULATOR






(a) Install the terminal insulator.
NOTICE: Pay attention to installation direction of the terminal insulator.

6. INSTALL GENERATOR REAR END COVER






(a) Install the end cover with the 3 nuts.
Torque: 4.6 Nm (47 kgf-cm, 41 in-lbf)
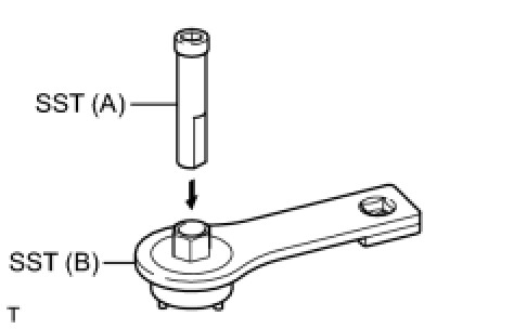
7. REMOVE GENERATOR WITH CLUTCH PULLEY






(a) Set SST (A) and (B).
SST: 09820-63020
(1) Set the rotor shaft to SST (A).
(2) Mount SST (A) in a vise.






(b) Install the generator with the SST as shown in the illustration.
(c) Turn SST (B) counterclockwise, and tighten the generator pulley.
SST: 09820-63020
Torque: 87 Nm (891 kgf-cm, 64 ft-lbf)
NOTICE: Use a torque wrench with a fulcrum length of 380 mm (14.96 in.).

(d) Remove the generator from the SST.
NOTICE: Check that the generator pulley rotates smoothly.

(e) Install a new generator pulley cap.