Operation CHARM: Car repair manuals for everyone.
Manuals through 2025 now available!

Our trusted friends have launched a new website named LEMON, which has newer manuals. It also contains all the CHARM manuals.

LEMON is the spiritual successor to CHARM, I recommend you try it!

Link: lemon-manuals.la or lemon-manuals.org.ua

(Some people have issue connecting. LEMON is investigating. For now, use Firefox or change your DNS server)

Or, hide this message: temporarily or permanently

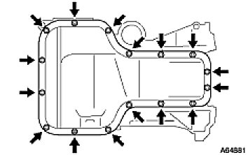
Oil Pan, Engine








Install the oil pan with the 14 bolts and 2 nuts.
Torque: 9.0 Nm (92 kgf-cm, 80 in-lbf)

- Tighten the bolts and nuts to the specified torque in two passes.
- Tighten the bolts and nuts within 15 minutes of applying sealant (if possible within 3 minutes).