Operation CHARM: Car repair manuals for everyone.
Manuals through 2025 now available!

Our trusted friends have launched a new website named LEMON, which has newer manuals. It also contains all the CHARM manuals.

LEMON is the spiritual successor to CHARM, I recommend you try it!

Link: lemon-manuals.la or lemon-manuals.org.ua

(Some people have issue connecting. LEMON is investigating. For now, use Firefox or change your DNS server)

Or, hide this message: temporarily or permanently

Installation








WINDSHIELD / WINDOWGLASS: WINDSHIELD GLASS: INSTALLATION

INSTALLATION

1. INSTALL WINDSHIELD GLASS STOPPER NO. 1
(a) Install 2 new windshield glass stoppers No. 1 to the body.
2. INSTALL WINDSHIELD GLASS STOPPER NO. 2





(a) Coat the installation part of the stopper with Primer G.

HINT: If an area other than that specified is coated by accident, wipe off the primer with a clean sponge.

- Allow the primer coating to dry for 3 minutes or more.
- Do not apply too much primer.

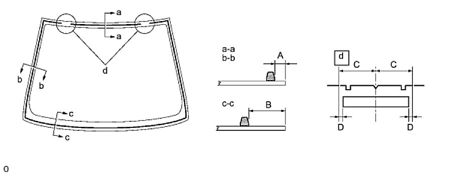
(b) Install 2 new windshield glass stoppers No. 2 onto the glass as shown in the illustration.
A:
40.0 mm (1.575 in.)
B:
7.7 mm (0.303 in.)
3. INSTALL FRONT PILLAR OUTER DAM
(a) Apply Primer G to the window glass where the front pillar outer dam will be installed.

HINT: If an area other than that specified is coated by accident, wipe off the primer with a clean sponge.

NOTICE:
- Allow the primer coating to dry for 3 minutes or more.
- Do not apply too much primer.

(b) Remove the peeling paper from the adhesive part of the dam. Install the dam (adhesive side) to the window glass (Primer G area), but exclude the stopper area "d" as shown in the illustration.

NOTE: Do not touch the glass surface after cleaning it.

A:
7 mm (0.28 in.)
B:
22.5 mm (0.886 in.)
C:
45 mm (1.77 in.)
D:
5 mm (0.20 in.)





4. INSTALL WINDSHIELD GLASS





(a) Clean and shape the contact surface of the adhesive on the vehicle's body.
(1) Using a knife, cut away any excessive adhesive.

HINT: Leave as much adhesive on the body as possible.

(2) Clean the cut surface of the adhesive with a piece of sponge saturated in cleaner.
(b) Position the glass.
(1) Using a suction cup, place the glass in the correct position.
(2) Check that all the contacting parts of the glass rim are perfectly even.
(3) Place reference marks between the glass and body.

NOTE: Check that the stoppers are attached to the vehicle body correctly.

HINT: When planning to reuse the glass, check and correct the reference mark's positions.

(4) Remove the glass.
(c) Coat the contact surface of the body panel with Primer M.
(1) Using a brush, coat the exposed part of the contact surface on the vehicle side with Primer M.

NOTICE:
- Allow the primer coating to dry for 3 minutes or more.
- Do not coat the adhesive with Primer M.
- Do not apply too much Primer.

(d) Coat the contact surface of the glass with Primer G.
(1) Using a brush or sponge, coat the edge of the glass and the contact surface with Primer G.

HINT: If an area other than that specified is coated by accident, wipe off the primer.

NOTICE:
- Allow the primer coating to dry for 3 minutes or more.
- Do not apply too much primer.





(e) Apply adhesive.
(1) Cut off the tip of the cartridge nozzle as shown in the illustration.
Adhesive:
Part No. 08850-00801 or equivalent

HINT: After cutting off the tip, use all adhesive within the time described in the table below.





(2) Load the sealer gun with the cartridge.
(3) Coat the glass with adhesive, as shown in the illustration.
A:
8.0 mm (0.315 in.)
B:
12.5 mm (0.492 in.)
(f) Install the glass.
(1) Using a suction cup, position the glass so that the reference marks are aligned, and press it in gently along the rim.

NOTICE:
- Allow the primer coating to dry for 3 minutes or more.
- Check that the stoppers are attached to the vehicle body correctly.
- Check the clearance between the vehicle body and glass.

(2) Lightly press the glass surface to ensure that the windshield glass is securely fit to the vehicle body.
(3) Using a scraper, remove any excess or protruding adhesive.

HINT: Apply adhesive on the glass rim.

5. INSTALL WINDSHIELD MOULDING OUTSIDE
(a) Install a new windshield moulding to the windshield glass before the adhesive has hardened.
(b) Hold the windshield glass in place securely with protective tape or equivalent until the adhesive has completely hardened.
(c) Using a scraper, remove any excess or protruding adhesive before the adhesive has hardened.

NOTE: Do not drive the vehicle for the amount of time written in the table below.





6. CHECK FOR LEAKAGE AND REPAIR
(a) Conduct a leak test after the adhesive has completely hardened.
(b) Seal any leaks with sealant.
7. INSTALL ROOF DRIP SIDE FINISH MOULDING CENTER RH
8. INSTALL ROOF DRIP SIDE FINISH MOULDING CENTER LH
9. INSTALL ROOF HEADLINING ASSEMBLY
10. INSTALL VISOR HOLDER
11. INSTALL ASSIST GRIP SUB-ASSEMBLY
12. INSTALL MAP LAMP ASSEMBLY
13. INSTALL LH VISOR ASSEMBLY
14. INSTALL RH VISOR ASSEMBLY
15. INSTALL INNER REAR VIEW MIRROR ASSEMBLY
16. INSTALL FRONT PILLAR GARNISH LH
17. INSTALL FRONT PILLAR GARNISH RH
18. INSTALL FRONT DOOR WEATHERSTRIP LH
19. INSTALL FRONT DOOR WEATHERSTRIP RH
20. INSTALL COWL TOP VENTILATOR LOUVER RH
21. INSTALL COWL TOP VENTILATOR LOUVER LH
22. INSTALL HOOD TO COWL TOP SEAL
23. INSTALL FR WIPER ARM LH
24. INSTALL FR WIPER ARM RH