Operation CHARM: Car repair manuals for everyone.
Manuals through 2025 now available!

Our trusted friends have launched a new website named LEMON, which has newer manuals. It also contains all the CHARM manuals.

LEMON is the spiritual successor to CHARM, I recommend you try it!

Link: lemon-manuals.la or lemon-manuals.org.ua

(Some people have issue connecting. LEMON is investigating. For now, use Firefox or change your DNS server)

Or, hide this message: temporarily or permanently

Installation









WINDSHIELD / WINDOWGLASS: QUARTER WINDOW GLASS:

COMPONENTS





INSTALLATION

1. INSTALL QUARTER WINDOW ASSEMBLY LH





(a) Clean and shape the contact surface of the body panel.
(1) Using a knife, cut away any excessive adhesive on the body panel.

HINT: Leave as much adhesive on the body panel as possible.

(2) Clean the cut surface of the adhesive with a piece of sponge saturated in cleaner.
(b) Coat the contact surface of the body panel with Primer M.
(1) Using a brush, coat the exposed part of the contact surface on the vehicle side with Primer M.

NOTICE:
- Allow the primer coating to dry for 3 minutes or more.
- Throw away any leftover Primer G.
- Do not apply too much primer.
- Pay special attention when coating joints of panels and welded parts.

(c) Coat the contact surface of the glass with Primer G.
(1) Using a brush or sponge, coat the edge of the glass and the contact surface with Primer G.

HINT: If an area other than that specified is coated by accident, wipe off the primer with a clean sponge.

NOTICE:
- Allow the primer coating to dry for 3 minutes or more.
- Throw away any leftover Primer G.
- Do not apply too much primer.

(d) Apply adhesive.
(1) Cut off the tip of the cartridge nozzle as shown in the illustration.
Adhesive:
Part No. 08850-00801 or equivalent

HINT: After cutting off the tip, use all adhesive within the time described in the table below.





(2) Load the sealer gun with the cartridge.
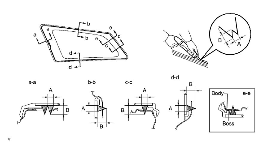
(3) Coat the glass with adhesive as shown in the illustration.
A:
8 mm (0.315 in.)
B:
12 mm (0.472 in.)





(e) Install the quarter window assembly LH.
(1) Using a suction cup, install the quarter window assembly.
(2) Push the area labeled "e - e" until the boss touches the vehicle body.

NOTICE:
- Install the glass after the primer on the vehicle body has completely dried.
- Check that the clips are locked to the vehicle body correctly.

(3) Lightly press the glass surface to ensure that the quarter window is securely fit to the vehicle body.
(4) Hold the glass in place securely with protective tape or equivalent until the adhesive has completely hardened.

NOTE: Do not drive the vehicle for the amount of time written in the table below.





2. CHECK FOR LEAKAGE AND REPAIR
(a) Conduct a leak test after the adhesive has completely hardened.
(b) Seal any leaks with sealant.
3. INSTALL ROOF SIDE GARNISH INNER RH
4. INSTALL DECK TRIM SIDE PANEL ASSEMBLY LH
5. INSTALL REAR DOOR WEATHERSTRIP LH
6. INSTALL REAR DOOR SCUFF PLATE LH
7. INSTALL DECK TRIM COVER REAR
8. INSTALL TONNEAU COVER ASSEMBLY
9. INSTALL DECK FLOOR BOX REAR
10. INSTALL LUGGAGE COMPARTMENT TRAY
11. INSTALL DECK BOARD NO.2
12. INSTALL DECK BOARD SUB-ASSEMBLY