Operation CHARM: Car repair manuals for everyone.
Manuals through 2025 now available!

Our trusted friends have launched a new website named LEMON, which has newer manuals. It also contains all the CHARM manuals.

LEMON is the spiritual successor to CHARM, I recommend you try it!

Link: lemon-manuals.la or lemon-manuals.org.ua

(Some people have issue connecting. LEMON is investigating. For now, use Firefox or change your DNS server)

Or, hide this message: temporarily or permanently

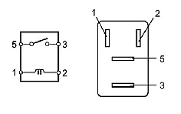
Starter Relay: Testing and Inspection








2AZ-FE STARTING: STARTER RELAY: ON-VEHICLE INSPECTION

ON-VEHICLE INSPECTION

1. DISCONNECT CABLE FROM NEGATIVE BATTERY TERMINAL
CAUTION: Wait at least 90 seconds after disconnecting the cable from the negative (-) battery terminal to prevent airbag and seat belt pretensioner activation.

2. REMOVE STARTER RELAY
(a) Remove the starter relay from the No. 7 relay block.
3. INSPECT STARTER RELAY






(a) Measure the resistance of the relay.
Standard resistance:





If the resistance is not as specified, replace the relay.
4. INSTALL STARTER RELAY
5. CONNECT CABLE TO NEGATIVE BATTERY TERMINAL