Operation CHARM: Car repair manuals for everyone.
Manuals through 2025 now available!

Our trusted friends have launched a new website named LEMON, which has newer manuals. It also contains all the CHARM manuals.

LEMON is the spiritual successor to CHARM, I recommend you try it!

Link: lemon-manuals.la or lemon-manuals.org.ua

(Some people have issue connecting. LEMON is investigating. For now, use Firefox or change your DNS server)

Or, hide this message: temporarily or permanently

Reassembly








2GR-FE CHARGING: GENERATOR: REASSEMBLY

REASSEMBLY

1. INSTALL GENERATOR ROTOR ASSEMBLY
(a) Place the drive end frame on the clutch pulley.






(b) Install the generator rotor assembly to the drive end frame.






(c) Place a new generator washer on the generator rotor.
2. INSTALL GENERATOR COIL ASSEMBLY






(a) Using a deep socket wrench (21 mm) and a press, slowly press in the generator coil assembly.






(b) Install the 4 bolts.
Torque: 5.8 Nm (59 kgf-cm, 51 in-lbf)
3. INSTALL GENERATOR BRUSH HOLDER ASSEMBLY






(a) While pushing the 2 brushes into the generator brush holder assembly, insert a dia1.0 mm (0.039 in.) pin into the brush holder hole.






(b) Install the brush holder assembly to the generator coil with the 2 screws.
Torque: 1.8 Nm (18 kgf-cm, 16 in-lbf)
(c) Pull out the pin from the generator brush holder.
4. INSTALL GENERATOR TERMINAL INSULATOR






(a) Install the terminal insulator to the generator coil.
NOTE: Pay attention to installation direction of the terminal insulator.

5. INSTALL GENERATOR REAR END COVER






(a) Install the generator rear end cover to the generator coil with the 3 nuts.
Torque: 4.6 Nm (47 kgf-cm, 41 in-lbf)
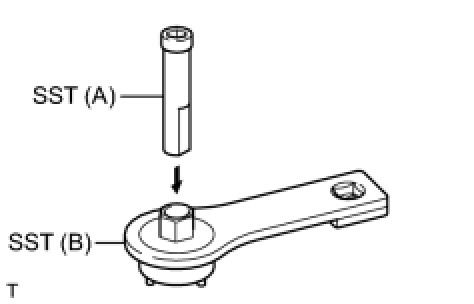
6. INSTALL GENERATOR CLUTCH PULLEY
(a) Temporarily install the clutch pulley onto the rotor shaft.






(b) Set SST (A) and (B).
SST: 09820-63020
(c) Clamp SST (A) in a vise.
NOTE: Be sure to fix the flat surface of SST (A) in a vise.









(d) Place the rotor shaft end into SST (A).






(e) Fit SST (B) to the clutch pulley.






(f) Tighten the pulley by turning SST (B) in the direction shown in the illustration.
without SST - Torque: 110 Nm (1125 kgf-cm, 81 ft-lbf)
with SST - Torque: 84 Nm (857 kgf-cm, 62 ft-lbf)
- Use a torque wrench with a fulcrum length of 318 mm (12.52 in.).
- This torque value is effective when SST is parallel to a torque wrench.
- Hold the generator assembly tightly.

(g) Remove the generator assembly from SST.
(h) Check that the clutch pulley rotates smoothly.
(i) Install a new clutch pulley cap to the clutch pulley.