Operation CHARM: Car repair manuals for everyone.
Manuals through 2025 now available!

Our trusted friends have launched a new website named LEMON, which has newer manuals. It also contains all the CHARM manuals.

LEMON is the spiritual successor to CHARM, I recommend you try it!

Link: lemon-manuals.la or lemon-manuals.org.ua

(Some people have issue connecting. LEMON is investigating. For now, use Firefox or change your DNS server)

Or, hide this message: temporarily or permanently

Compressor HVAC: Testing and Inspection








AIR CONDITIONING: COMPRESSOR AND MAGNETIC CLUTCH:

INSPECTION





1. INSPECT MAGNET CLUTCH ASSEMBLY
(a) Inspect the magnet clutch assembly.
(b) Confirm that the magnet clutch hub and magnet clutch rotor lock when the battery positive lead is connected to terminal 1 (MG+) of the magnet clutch, and the negative lead is connected to the earth wire.
If the operation is not as specified, replace the magnet clutch assembly.





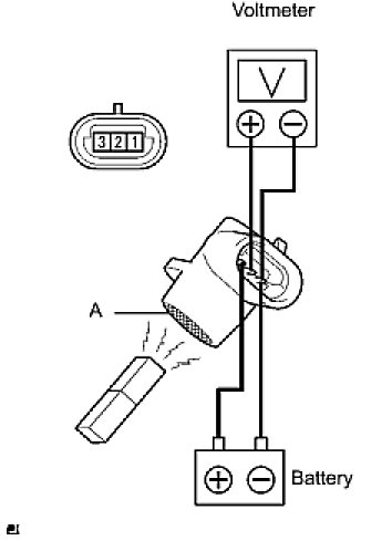
2. INSPECT COMPRESSOR PICK UP SENSOR
(a) Check the compressor pick up sensor voltage.
(1) Connect the positive (+) lead from the battery to terminal 3 (SSR-) and the negative (-) lead to terminal 1 (MG+), and measure the voltage between terminals 1 (MG+) and 2 (SSR+).
Standard:
2.0 to 3.0 V
(2) When surface A of the compressor pick up sensor is close to the S-pole, the voltage between terminals 1 (MG+) and 2 (SSR+) increases. When it is close to the N-pole, the voltage between the terminals decreases.
If the result is not as specified, replace the compressor pick up sensor.