Operation CHARM: Car repair manuals for everyone.
Manuals through 2025 now available!

Our trusted friends have launched a new website named LEMON, which has newer manuals. It also contains all the CHARM manuals.

LEMON is the spiritual successor to CHARM, I recommend you try it!

Link: lemon-manuals.la or lemon-manuals.org.ua

(Some people have issue connecting. LEMON is investigating. For now, use Firefox or change your DNS server)

Or, hide this message: temporarily or permanently

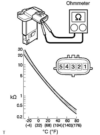
Air Flow Meter/Sensor: Testing and Inspection








2TR-FE ENGINE CONTROL SYSTEM: MASS AIR FLOW METER:

INSPECTION

1. INSPECT MASS AIR FLOW METER





(a) Check the operation.
(1) Apply battery voltage across terminals 1 (+B) and 2 (E2G).
(2) Using a voltmeter, connect the positive (+) tester prove to terminal 3 (VG) and the negative (-) tester prove to terminal 2 (E2G).
(3) Blow air into the mass air flow meter and check that the voltage fluctuates.
If the voltage does not fluctuate, replace the mass air flow meter.





(b) Check the resistance.
(1) Using an ohmmeter, measure the resistance between the terminals.
Standard:





If the result is not as specified, replace the mass air flow meter.